Переходник трамвая 451 кабеля IBP переходника IP давления GE инвазионные двойной REF в 0,3 метра 2005772-001
►Краткое введение
Двойной инвазионный переходник кровяного давления запланирован быть использованным для датчиков кровяного давления соединения 2 инвазионных к данным по системы GE медицинским.
Работа для модулей GE B20 B20i B40 B105 B125. Cath-лаборатория, MAC-лаборатория, черточка 1000, черточка 2000, черточка 3000, черточка 3100, черточка 4000, черточка 5000, орел, солнечные 7000, солнечные 8000, солнечные 9000, трамвай 451, модуль 100-600 трамвая, трамвай Rac 3, трамвай Rac 4A, объем 100-800 a трамвая, объем 100-800 l трамвая
Для того чтобы измерить инвазионное кровяное давление, катетер введен в артерию или вену. Инвазионная установка давления, состоя из соединяясь трубопровода, датчик давления, внутривенная сумка нормальное соляного, совсем соединенная совместно stopcocks, прикреплена в катетер. Датчик помещен на таком же уровне с сердцем, и электрически вычеркнут.
Датчик пьезорезистивный прибор который преобразовывает сигнал давления к напряжению тока. Монитор интерпретирует сигнал напряжения тока так, что формы волны данным по давления и давлению можно показать.
►Инвазионное измерение кровяного давления
Установите каналы IBP имитатора следующим образом:
Чувствительность: 5 µV/V/mmHg
Выходы InvBP: «0 давлений mmHg статических» или «атмосфера»
ПРИМЕЧАНИЕ: Повторное калибрование необходимо, если измеренное значение нет в пределах спецификации.
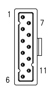
►Инвазионные соединители кровяного давления (IBP1, IBP2)

| 1 | BP_+VREF | Напряжение тока возбуждения датчика BP, канал 1 |
| 2 | BP SIG+ | Позитв сигнала датчика BP (+), канал 1 |
| 3 | BP_+VREF | Напряжение тока возбуждения датчика BP, канал 2 |
| 4 | AGND | Сетноая-аналогов земля |
| 5 | BP SIG+ | Позитв сигнала датчика BP (+), канал 2 |
| 6 | ЭКРАН | Экран кабеля BP |
| 7 | AGND | Сетноая-аналогов земля |
| 8 | BP SIG1 | Недостаток сигнала датчика BP (-), канал 1 |
| 9 | BP SIG2 | Недостаток сигнала датчика BP (-), канал 2 |
| 10 | BP1_ID | Идентификация зонда BP1 |
| 11 | NC | Не соединенный |
Если вы имеете другое дознание переходника трамвая 451 кабеля IBP переходника IP давления GE инвазионные двойного REF в 0,3 метра 2005772-001, то пожалуйста чувствуйте свободный связаться мы.
Мы всегда готовы служить вы.