Вибромашины турбины безшумных элементов системы Findeva золотистых пневматических пневматические
Быстрая деталь:
* Вибромашина турбины серии GT пневматическая
* материал тела прессовал алюминиевый сплав
* нержавеющая сталь тела материальная доступная
* высокое - температура - сопротивление до 120℃
* Немедленно начните, остановите, быстрая реакция
* смазка освобождает
* Размер 1/8" порта g, NPT
* Работая frequence и маховая сила могут быть регулируемы воздушным давлением
* Работая frequence до 17000cycles/Minute на 6 адвокатских сословиях
* Сильная маховая сила до 5070N на 6Bar
* Малошумное 60~75Dba
Свойства
• Смазк-свободный
• Малошумный уровень
• Сильная вибрация посредством быстрого хода и ексцентрика
работая вращающие моменты
• Расклассифицированный 46' 000 rpm частоты 6' 000 до
• Маховая сила 130 до 12' 000 n
• Непрерывно переменный
• Смогите быть использовано до °C 150
• Упорный к весьма условиям окружающей среды
Сфера применения
• Опорожнять дзотов
• Фильтры экрана
• Вибрируя таблицы
• Предотвращать прилипания в трубопроводах и силосохранилищах
• Транспортировать тонкоизмельченных порошков
• Двигать кусковых материалов
Конструкция
• Вибрация от маховой силы положительных и отрицательных imbalanced вращающих моментов в роторе.
• Ротор на 2 pre-смазал и заключил аранжированные шаровые подшипники в пары. Смазанный с специальным тавотом на длинная жизнь.
Применения:
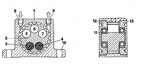
Пневматическая вибромашина турбины GT-25 используемая широко в транспортере питания материальном, хоппере скрининга вибрации, вибрировать, упаковывая заполнять, вибрации etc прессформы формовочной земли
Спецификации:

1, прессованное тело алюминиевого сплава
2, трудное покрынное алюминиевое колесо турбины
3-4, high-density массовое положительное движение
5-7, полости давая отрицательное движение
8, порт воздуховода
9, порт воздуха выматываясь
10, отверстия прикрепления к основанию
11, экстренныйый выпуск Pre-Смазали соответствуя загерметизированные подшипники
Трудные покрынные алюминиевые Endplates
12, с левой резьбой направления
13, с резьбой правильного направления
| Модель | Частота V.P.M | Маховая сила | Потребление L/минута воздуха | ||||||
| 2 адвокатского сословия | 4 адвокатского сословия | 6 адвокатских сословий | 2 адвокатского сословия | 4 адвокатского сословия | 6 адвокатских сословий | 2 адвокатского сословия | 4 адвокатского сословия | 6 адвокатских сословий | |
| 29 PSI | 58 PSI | 87 PSI | N | N | N | Ltr. | Ltr. | Ltr. | |
| GT-8 | 36000 | 42000 | 46000 | 990 | 2060 | 2910 | 48 | 75 | 152 |
| GT-10 | 27500 | 35000 | 37500 | 840 | 1390 | 2400 | |||
| GT13 | 26000 | 30000 | 33000 | 1400 | 2440 | 3730 | 125 | 210 | 280 |
| GT-16 | 17000 | 21500 | 24000 | 1220 | 2090 | 3160 | |||
| GT20 | 17000 | 20000 | 23000 | 2170 | 4040 | 5520 | 188 | 315 | 465 |
| GT-25 | 12000 | 15500 | 17000 | 2120 | 3510 | 5070 | |||
| GT32 | 13000 | 14000 | 16000 | 3380 | 5430 | 7540 | 335 | 520 | 755 |
| GT-36 | 7800 | 10000 | 13000 | 3290 | 5360 | 7190 | |||
| GT40 | 7500 | 8800 | 9500 | 4300 | 7300 | 9800 | 428 | 680 | 960 |
| GT-48 | 5800 | 7500 | 9700 | 4900 | 7700 | 10500 | |||
| GT-60 | 4758 | 6530 | 8515 | 5700 | 9800 | 11150 |
|
||
Размер:

Конкурентное преимущество:
| Наши характеристики продукта: | Наша гарантия обслуживаний: |
| 1) Конкурентоспособная цена | 1) Подсказка отвечает (ответ с 24 часами) |
| 2) Хорошее качество | 2) Свободные образцы (получка клиента для стоимости поставки) |
| 3) Профессиональный упаковывать, | 3) Поддержка зарегистрирования. |
| 4) Продукция согласно инструкции клиентов | 4) Фото/видео доступны во время продукции. |
| 5) Никакие задерживают пересылку |
5) Осмотр нагрузки, и посылает фото нагрузки перед пересылкой. |
Стандарты качества:
Компания для продуктов brandnew первоначально продукты, не перекупные и приведенные продукты, или выйдите compensable 10 и возвратите полное количество, но покупатель должный к нашей покупке модельной ошибки не ответствен для возвращений, другого из сбываний компании продуктов наслаждается одним годом от даты проверки качества пересылки, согласно первоначально стандартам качества, во время гарантированности при проблемы продукта, испытания подтверждения потребности изготовлением, поставщика, котор нужно разрешить, стороны требования должной к хранению, пользы, плохого обслуживания причиненного продуктом низк-качества, и не возражений повышения
Гарантированность:
Весь деталь приходит с основной гарантированностью 3 продавецов месяца, если деталь неполноценный в 3 месяцах, мы предложит замену без экстренного заряжателя, то (включая гонорар перевозкы груза) после того как мы получим неполноценный деталь.
Если деталь неполноценный после 3 месяцев, покупатели может все еще послать его назад, то мы контактируем поставщиков или Manufactory для гарантированности. Покупатели могли оплатить гонорар перевозкы груза для resend замененный деталь.