Сплав ОПТИПОВ 105 алюминиевый 3 дюйма чистый сушит обжатый клапан ИМПа ульс черноты воздуха
| Проектные данные | ||||
| Давление дизайна статическое | бар 15 (кПа 1500) | |||
| Температура дизайна | °К 100 | |||
| Нормальное рабочее давение | < 6="" bar=""> | |||
| Нормальное изменение рабочего давения | 3 но. бара неограниченных | |||
| Температура нормального функционирования | °К 50 | |||
| ПАРАМЕТР КЛАПАНА АЛСТОМА | ||
| Модель | 105 | 135 |
| Номинальный диаметр | ДН80 | ДН100 |
| Давление деятельности | 0,1 Мпа Мпа~0.8 | |
| Средство деятельности | Очистите сухой обжатый воздух | |
| Напряжение тока | ДК24В±15% | |
| Ранг защиты | ИП65 | |
| Ранг изоляции | Х | |
| Ранг температуры | -30℃~+120℃ | |
| КВ/КВ | 311.31/363.3 | 518.85/605.5 |
| Ряд чистки | 72㎡ | 120㎡ |
| Срок службы | Больше чем 1000000 раз | |
Закрывать
Соленоид закрыт к окружающему и раскрыт к пилотному воздуху.
Пилотная мембрана отжата вниз к месту.
Через слот между погружением и домом давление над погружением будет выравнено к давлению танка и погружение двигает вниз к трубе ИМПа ульс и кончает ИМП ульс чистки.
Время для последовательности (начала раскрывая к закрытому клапану) в некоторой степени в зависимости от отростчатых требований но вообще оно в границах 100 до 200 мсек.

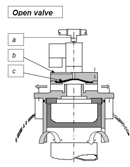
Открытие
Когда очищать начат клапан соленоида закрывает соединение (а) и раскрывает к окружающему (б) которое значит что том б эвакуирован. Мембрана отжатый вверх (к) и том а эвакуирован через 2 порта на наружной стороне дома клапана.
Погружение быстро двигает вверх разницой в давления над погружением.
Обжатый воздух в танке давления выпущен через трубу ИМПа ульс как ИМП ульс и самый дальний дальше к строке цедильных мешков.





Стандарты качества
Компания для продуктов совершенно новые первоначальные продукты, не подержанные и приведенные продукты, или выйдите компенсабле 10 и возвратите полное количество, но покупатель должный к нашему приобретению модельной ошибки не ответственен за возвращения, другую из продаж компании продуктов наслаждается одним годом от даты проверки качества пересылки, согласно первоначальным стандартам качества, во время гарантии с проблемами продукта, испытания подтверждения потребности изготовителем, поставщика, который нужно разрешить, стороны спроса должной к хранению, пользы, плохого обслуживания причиненного продуктом низк-качества, и не возражений повышения.
обслуживание После-продажи
Мы можем обеспечить серию обслуживания после-продажи, как внедрение продукции, установка, отладка, служба технической поддержки и так далее.
Упаковывая доставка
1. Если заказ не большой достаточно, то мы снабдим дверь обслуживание двери, мы сотрудничаем с УПС, ДХЛ, ФЭДЭРАЛ ЭСПРЭСС, ТНТ круглый год, мы гарантируем что цена доставки которую мы предлагаем к вам наиболее благоприятная цена среди настолько много поставщиков в Китае.
2. Самолетом или морским путем через ваш товароотправителя приемлемы, если вы не имеете никакого товароотправителя в Китае, то мы также смогли найти вы рентабельный товароотправитель для вашей ссылки.