Клапан соленоида XTF небольшой медный двухсторонний, клапан соленоида DC12V/DC24V прямой латунный
.
Specifiction
1. Нормальная польза больше чем 10 миллионов времен.
2. Используя катушку импорта, потребление низкой мощности.
3. Быстрый ответ, хорошее возникновение
| Гаван размер | M5 | G1/8 ″ | ||
| Материал тела | Латунь | |||
| Модель контроля | Безредукторная передача | |||
| Герметизируя принцип | Мягкая природа | |||
| Установка | M3 | |||
| Вес | 163g | |||
| Рабочее давение | 0~10bar | |||
| Средство деятельности | Воздух: Вода -10~60℃: Масло 1~60℃: -5~60℃ | |||
| Расклассифицированное напряжение тока | DC12V DC24V AC110V AC220V | |||
| Позвольте ряду качания напряжения | ±10% | |||
| Самое короткое время возбуждения | 0.05S | |||
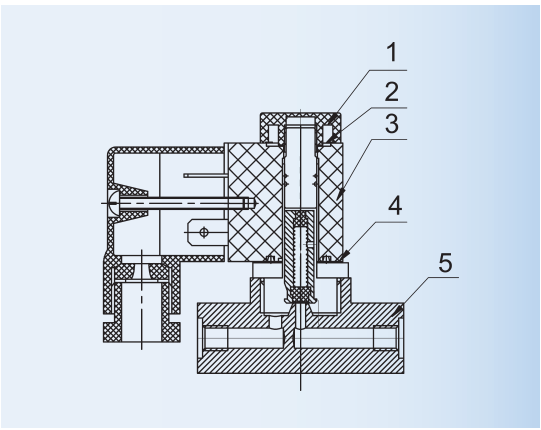
Части внутренней структуры
| НЕТ. | Обозначение | Материал | Количество |
| 1 | Гайка утюга | QC235 | 1 |
| 2 | Набивка | QC235 | 1 |
| 3 | Собрание катушки | 1 | |
| 4 | Собрание проводника главное | 1 | |
| 5 | Тело клапана | Латунь | 1 |

Общий размер
