Тип вибромашина Findeva турбины серии GT пневматическая золотая для ящика
Вибромашины турбины серии GT пневматические золотые высокоскоростные и эксцентричные работая вращающие моменты для сильной вибрации. Широкий диапазон для много применений.
Свойства:
1. свободный от Смазк
2. малошумный уровень
3. сильная вибрация посредством высокоскоростных и эксцентричных работая вращающих моментов
4. расклассифицированный RPM частоты 6000 до 46000
5. маховая сила 130 до 12000 n
6. непрерывно переменный
7. применимый до 120°C, версии HT по запросу
8. устойчивый к весьма условиям окружающей среды
Сфера применения:
1. опорожнять бункеров
2. сетчатые фильтры
3. вибрируя таблицы
4. предотвращение прилипания в трубопроводах и силосохранилищах
5. транспортировать тонкоизмельченных порошков
6. двигать кусковых материалов
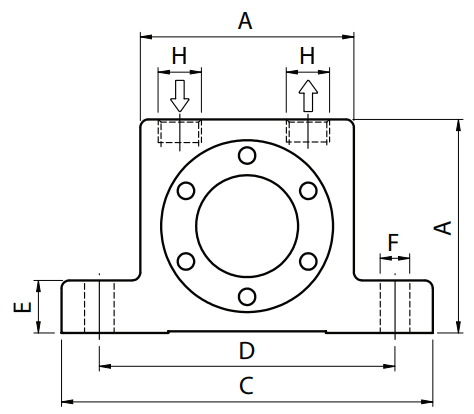
Основной размер вибромашин турбины серии GT пневматических:

|
Модель
|
(mm)
|
Ширина
(mm)
|
C
(mm)
|
D
(mm)
|
E
(mm)
|
F
(mm)
|
H
(Поток)
|
|
GT-4
GT-6
|
40
|
28
|
70
|
56
|
10,5
|
6
|
G1/8»
|
|
GT-8
GT-10
|
50
|
33
|
86
|
68
|
12
|
7
|
G1/8»
|
|
GT-13
GT-16
|
65
|
42
|
113
|
90
|
16
|
9
|
G1/4»
|
|
GT-20
GT-25
|
80
|
56
|
128
|
104
|
16
|
9
|
G1/4»
|
|
GT-30
GT-36
|
100
|
73
|
160
|
130
|
20
|
11
|
G3/8»
|
|
GT-40
GT-48
|
120
|
86
|
194
|
152
|
24
|
17
|
G3/8»
|
Технические данные вибромашин турбины серии GT пневматических:
|
Модель
|
Вибрации
(x1000 RPM)
|
Маховая сила
(N)
|
Потребление воздуха
(Л/МИН)
|
||||||
|
бар 2
|
бар 4
|
бар 6
|
бар 2
|
бар 4
|
бар 6
|
бар 2
|
бар 4
|
бар 6
|
|
|
GT-4
|
14,0
|
15,0
|
15,0
|
135
|
180
|
200
|
33
|
58
|
83
|
|
GT-6
|
11,5
|
12,0
|
12,5
|
130
|
175
|
210
|
|||
|
GT-8
|
36,0
|
42,0
|
46,5
|
990
|
2060
|
2910
|
46
|
80
|
112
|
|
GT-10
|
27,5
|
35,0
|
37,5
|
840
|
1390
|
2400
|
|||
|
GT-10-S
|
17,0
|
23,0
|
25,0
|
650
|
1350
|
1950
|
|||
|
GT-13
|
26,0
|
30,0
|
33,0
|
1400
|
2440
|
3730
|
120
|
200
|
290
|
|
GT-16
|
17,0
|
21,5
|
24,0
|
1220
|
2090
|
3160
|
|||
|
GT-16-S
|
11,5
|
15,5
|
17,0
|
1100
|
1900
|
2700
|
|||
|
GT-20
|
17,0
|
20,0
|
23,0
|
2170
|
4040
|
5520
|
185
|
325
|
455
|
|
GT-25
|
12,0
|
15,5
|
17,0
|
2120
|
3510
|
5070
|
|||
|
GT-25-S
|
8,5
|
11,0
|
13,0
|
2250
|
3600
|
4900
|
|||
|
GT-30
|
13,0
|
14,0
|
16,0
|
3380
|
5430
|
7540
|
330
|
530
|
745
|
|
GT-36
|
8,0
|
10,0
|
13,0
|
3290
|
5360
|
7190
|
|||
|
GT-36-S
|
6,1
|
7,2
|
8,3
|
4100
|
6200
|
7500
|
|||
|
GT-40
|
7,7
|
8,8
|
9,5
|
4300
|
7300
|
9800
|
425
|
700
|
970
|
|
GT-48
|
6,0
|
7,5
|
9,7
|
4900
|
7700
|
10500
|
|||
|
GT-48-S
|
-
|
5,6
|
6,3
|
-
|
7500
|
12000
|
|||
Конструкция вибромашин турбины серии GT пневматических:

Более пневматические вибромашины для вашего, который нужно выбрать:
![]() |
![]() |
![]() |
|
Серия GT Пневматические вибромашины турбины |
Серия k Пневматические вибромашины шарика |
Серия r Пневматическая вибромашина ролика |
Больше аксессуаров для пневматического Vibratos:
![]() |
![]() |
| Пневматический штуцер | Пневматический звукоглушитель |
Фокус на ваших требованиях, предложение вы самое лучшее решение:
√ свяжется мы если некоторые пункты вы имеют сомнение
√ свяжется мы если где-то нужно изменить
√ свяжется мы если не одно, то вы ищете
√ свяжется мы если вы делаете конструировать
Добро пожаловать к вашим любым вопросу и дознанию!