клапан соленоида рефрижерации поршеня хладоагентов амиака 042Х1142 ЭВРА 40 управляемый сервоприводом с соединениями сварного соединения встык
Клапан соленоида ЭВРА40 конструирован главным образом для хладоагентов амиака, его поставленные законченные или как отдельные компоненты, т.е. тело клапана, катушка и
фланцы можно приказать отдельно.
Технические данные:
Хладоагенты: Применимый к ХКФК, ХФК и Р717 (амиаку).
Температура средства:
−40 → +105°К.
Максимальное 130°К во время размораживать.
| Тип | Перепад давления отверстия с стандартной катушкой (баром ∆п) |
Температура °К |
Максимальная работа давление |
кв-значение 1) |
|||
| Минимальный. | Максимальная (= МОПД) жидкость 2) | ||||||
| А.К. 10 в. | А.К. 12 в. | Д.к 20 в. | |||||
| ЭВРА 40 | 0,20 | 21 | 25 | 14 | – 40 → 105 | 42 | 25 |
1) Значение кв подача воды в м3/х на падении давления через клапан 1 бара, ρ = 1000 кг/м3.
2) МОПД для средств массовой информации в форме газа приблизительно 1 бар более большой.
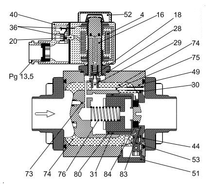
Функция дизайна ЭВРА 32 и ЭВРА 40:

4. Катушка
16. Арматуре
18. Плита клапана/плита пилотного клапана
20. Терминал земли
24. Соединение для гибкой стали
шланг
28. Набивка
29. Пилотное отверстие
30. Колцеобразное уплотнение
31. Кольцо поршеня
36. Штепсельная вилка ДИН
40. Терминальная коробка
43. Крышка клапана
44. Колцеобразное уплотнение
45. Набивка крышки клапана
48. Набивка фланца
49. Тело клапана
51. Крышка/продетая нитку штепсельная вилка
53. Шпиндель ручной операции
59. Стрейнер
73. Отверстие выравнивания
74. Главный канал
75. Пилотный канал
76. Пружина сжатия
80. Поршень диафрагмы/сервопривода
82. Шайба поддержки
83. Место клапана
84. Главная плита клапана
ЭВРА 25, 32 и 40 управляемые сервоприводом клапаны поршеня. Клапаны закрыты с куррентлесс катушкой. Поршень сервопривода (80) с главной плитой клапана (84) закрывает против места клапана (83) посредством перепада давления между входом и стороной выхода клапана, силы пружины сжатия (76) и по возможности веса поршеня. Когда настоящий к катушке включает, пилотное отверстие (29) раскрывает. Это сбрасывает давление на стороне весны поршеня клапана. Перепад давления после этого раскроет клапан. Минимальный перепад давления необходим для полного отверстия клапанов 0,2 бара.
Материальная спецификация сервопривода хладоагентов амиака 042Х1142 ЭВР40А привелась в действие клапан соленоида рефрижерации поршеня:

| Нет. | Описание | Клапаны соленоида | Материал | Анализ | ИСО | ЭН |
| 1 | Тело клапана | ЭВРА 25/32/40 | Чугун | ГДЖС-400-18-ЛТ | 1563 | |
| 2 | Гайка трубки Арматуре | ЭВРА 25/32/40 | Нержавеющая сталь | С8КрНиС 18-9 | 10088 | |
| 3 | Трубка Арматуре | ЭВРА 25/32/40 | Нержавеющая сталь | С2КрНи19-11 | 10088 | |
| 4 | Фланец | ЭВРА 25 | Сталь | С235ДЖРГ2 | 10025 | |
| ЭВРА 32/40 | Сталь | П285КХ | 10222-4 | |||
| 5 | Набивка | ЭВРА 25/32/40 | Алюминий | Ал99.5 | 10210 | |
| 6 | Набивка | ЭВРА 25 | свободный от азбест | |||
| ЭВРА 32/40 | Резина | Кр | ||||
| 7 | Штепсельная вилка крышки/потока | ЭВРА 25 | Автоматная сталь | 11СМнПб30 | 10277-3 | |
| ЭВРА 32/40 | Нержавеющая сталь | С5КрНи17-10 | 1088 | |||
| 8 | Набивка | ЭВРА 25 | Резина | Кр | ||
| 9 | Болты | ЭВРА 25 | Нержавеющая сталь | А2-70 | 3506 | |
| 10 | Крышка | ЭВРА 25 | Чугун | ГДЖС-400-18-ЛТ | 1563 | |
| 11 | Болты | ЭВРА 25/32/40 | Нержавеющая сталь | А2-70 | 3506 | |
| 12 | Место клапана | ЭВРА 25 | Тефлон (ПТФЭ) |
Размеры клапана соленоида амиака ЭВРА40:


Вы также смогли нажать под изображением для того чтобы наблюдать ведио клапана соленоида ЭВРА40 которое мы вывесили на Йоутубе:
Мы также изготовитель другие типы клапан соленоида, приветствуем ваше любое дознание. Подгоняет также доступен, приветствуйте ваш чертеж или попробуйте:
