штепсельная вилка сопротивления дождя 5П 32Ампс ИП44 красная без Винт промышленная 400 Китая вольт номера детали изготовителя 4
Промышленная штепсельная вилка, разъем-вилка держателя кабеля 16 Амп - 125 Амп, одиночная фаза или трехфазный.
Спецификации:
Параметр метода:
| Настоящий | Поляки | 110В 50а.60Хз |
230В 50а.60Хз |
400В 50а.60Хз |
500В 50а.60Хз |
>50-500В 100-300Хз |
>50-500В а.300-500Хз |
Блок пакета | Вес |
| 3П 4П 5П 4х 4х 4х |
3П 4П 5П 6х 9х 9х |
3П 4П 5П 9х 6х 6х |
3П 4П 5П 7х 7х 7х |
3П 4П 5П 10х 10х 10х |
3П 4П 5П 2х 2х 2х |
ПКС/БОС | Г/ПК | ||
| 32А | 3 | 259 | 260 | 261 | 2195 | 2341 | 10 | 246 | |
| 4 | 262 | 263 | 264 | 265 | 266 | 267 | 10 | 265 | |
| 5 | 268 | 269 | 4 | 2015 | 2244 | 2178 | 10 | 302 |
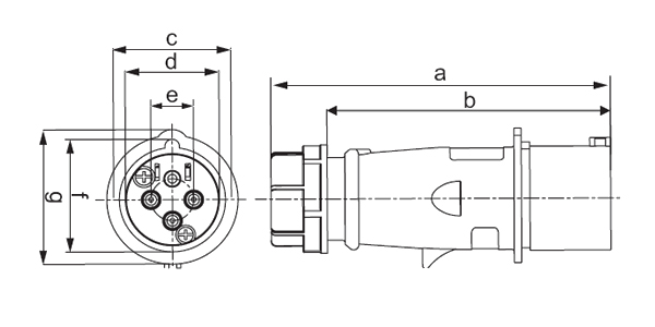
| Настоящий | Поляки | а | б | к | д | е | ф | г | |
| 32А | 3 | 173 | 144 | 57 | 51 | 25 | 62 | 80,7 | |
| 4 | 173 | 144 | 57 | 51 | 25 | 62 | 80,7 | ||
| 5 | 177 | 149 | 63,3 | 56,5 | 30,3 | 68,7 | 89 | ||
| Минута площади поперечного сечения проводника (² мм) к Максу 4-6 | |||||||||
Размер продукта:

Изображение:

