Прямоугольные полые секции ГОСТ 30245Стальная изогнутая закрытая сварная квадратная и прямоугольная секции для строительства
Применение:для стальных строительных конструкций.
Способ изготовления:Формирование круглого трубчатого сечения с помощью продольной сварки ((Автоматическая высокочастотная сварка) и последующая спеллеризация к квадратному или прямоугольному сечению.
Разделы изделий должны соответствовать разделам, указанным в пунктах 1 и 2

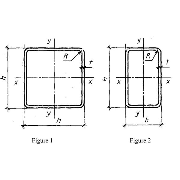
Примечание:h?? высота ((ширина); b?? ширина; t?? толщина стены; радиус края; момент инерции; W?? момент сопротивления; радиус инерции
h:50-400 мм t:4-14 мм
Толерантность
--+/-1,5 мм для высоты (ширины) сечения до 100 мм
- +/- 2,0 мм для высоты (ширины) сечения, превышающей 100 мм.
В случае секции высотой (шириной) 100 мм и толщиной стены 7 мм максимальное отклонение высоты (ширины) секции не должно превышать +/- 2,0 мм.
3.Отклонение угла в поперечном сечении от 90° не должно превышать +/-1°30°.В случае сечений с толщиной стенки от 7 до 14 мм. Максимальное отклонение от 90° не должно превышать +/-2°.


