Плоская проката печенье выпекание теплоустойчивое металлосоединение сбалансированное тканевое шерстяное проволока морозильная сетка конвейерная лента для печи
Конвейерные ленты с комбинированным плетением, которые также называются конвейерными лентами с металлическим шнуром,относится к серии правых и левых спиралей, соединенных вместе, чтобы сформировать более узкую переносную поверхность по сравнению с сбалансированными или универсальными ремнями ткачестваЭта плотно-тканая конструкция делает комбинированные конвейерные ленты идеальными для выпечки, транспортировки небольших продуктов и высоких тяжелых грузов.

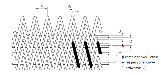
Также известный в отрасли как соединенный сбалансированный ремень, Cordweave ремень по существу сбалансированный спираль
Пояс, который имеет несколько спиралей и поперечных стержней на шаг,эффективно создавая "пояс внутри пояса".
Структура закрывает отверстия внутри ремня, придавая Cordweave его характерную высокую плотность и плоскую поверхность.
Предлагая плоскую грузоподъемную поверхность с небольшой открытой площадью, Cordweave является популярным выбором для приложений
В основном, это применяется для изготовления пирожных.
Применения, поскольку его высокая плотность конструкции обеспечивает равномерную передачу тепла через продукт


| Код спецификации. | A:Шпионка протяженность по ширине | B: катушка с проволокой. | C: Протяженность поперечной проволоки | Д: Кроссовая диаграмма. | E: Количество перекрестных проводов на катушку. |
| 1 | 5.08 | 1.22 | 3.05 | 1.22 | 3 |
| 2 | 10.16 | 2.03 | 5.08 | 2.64 | 4 |
| 3 | 4.24 | 0.91 | 2.24 | 1.22 | 4 |
| 4 | 8.47 | 1.63 | 3.63 | 1.63 | 4 |
| 5 | 6.35 | 1.22 | 2.82 | 1.22 | 4 |
| 6 | 8.71 | 1.6 x 1.3* | 3.39 | 1.63 | 5 |
| Примечание:размер может быть настроен на заказ, если выше не в порядке. | |||||



Характеристики ремня с соединенной сбалансированной тканевой конвейерной морозильной сеткой:

Применение конвейерной ленты из металлических соединений для выпечки печенья:
