соединитель л кабельный соединитель В20Л0К-П07МКК00420С 7пин ОДУ альтернативный круговой поляка сериалов мулти
| Коллет нет. | Кабель ОД | |||
| 0Б | Тип | кодировать | Макс | Минута |
| Д | 32 | 3,0 | 2,1 | |
| Д | 42 | 4,0 | 3,1 | |
| Д | 52 | 5,0 | 4,1 | |
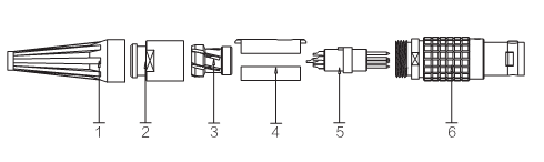
Процесс сборки кабеля ДИИ:
1. Получите кабель через гайку коллет рукава в заказе, после этого паяя провод кабеля к изолятору по-одному, пожалуйста важно заметьте заказ провода
2. Положите несущую вставки разделения к изолятору солдере, для того чтобы держать слот ответной части несущей вставки разделения идеальным с поднимать подсистемы изолятора
3. положите коллет на праве положения кабеля, убеждайтесь поднимать ответной части коллет с слотом несущей вставки разделения
4. пуст коллет несущей вставки изолятора разделенный подсистемой в внешнюю оболочку в заказе, убеждается поднимать ответной части несущей вставки разделения с слотом внешней оболочки
5. Привинтьте гайку коллет плотно
6. Прицепите рукав к соответствуя шагу гайки коллет.


