
Характеристики | Основание-Т креста 0845-2Г1Т-Х5 10/100 ЛПДЖ17633АФНЛ РДЖ45 2кс1 |
2)СМТ, ТХТ и ТХТ с УСБ | |
3)350μХ минута, ОКЛ с 8мА косо | |
4)Исполняет с ИЭЭЭ 802,3 | |
5)Выдвинутый диапазон температур 0°к~70°к (или -40°к~+85°к) доступный | |
6)ПоЭ/ПоЭ+ (350мА~720мА) | |
Деятельность/применение | Модемы ×ДСЛ |
Врезанный ПК | |
Применения ЛАН | |
Эпицентр деятельности, маршрутизатор, переключатели | |
АВР, ДВР | |
Электрические характеристики | |
Защищенный | с/снаружи |
Особенности прекращения | |
Палец ЭМИ | с/снаружи |
Метод прекращения | Припой |
Особенности тела | |
СИД | с/снаружи |
Пальцы ЭМИ - верхняя часть и стороны | с/снаружи |
Ориентация защелки | Свяжите УП/Даун тесьмой |
ПКБ замыкает длину | 3.5±0.5мм |
Высота над доской | Опционный |
Особенности контакта | |
Поджатый | ДА |
Тип прекращения контакта | Через отверстие |
Стиль соединителя | Джек |
Номер ядров | 8 |
Индустриальные стандарты | |
Неэтилированный процесс припоя | Припой волны способный к 265°к |
История соответствия РоХС/ельв | Всегда было РоХС уступчивое |
Условия для использования | |
Применяет к | Плата с печатным монтажом |
Условия окружающей среды | Офис/предпосылки |
Рабочая температура (°к) | 0°к~70°к/-40°к~+85°к |
Другие особенности | |
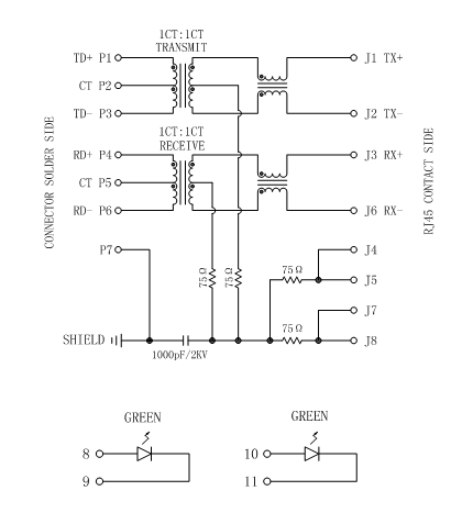
Магнитная цепь | 3Д15 |
Индикатор состояния | СИД |
Левый цвет СИД | Опционный |
Правый цвет СИД | Опционный |
Декуплинг конденсатор | с/снаружи |
Задняя плата ПКБ земная | с/снаружи |
Количество руководства Сингал | 8 |
Схемы данных | Дознание электронной почты к Summer@link-PP.com |
Другие называют | ЛПДЖ17633АДНЛ |