|
Ботхханд Х4П041НС ЛФ |
Крест ЛП40453ПНЛ |
ХН4264ВГ |
Схема данных/цена/Спесификатион/3Д |
Особенность
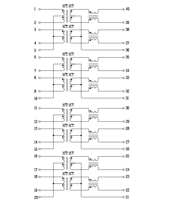
Дизайны Х4П041НС ЛФ магнитные для того чтобы поддержать каждое ПХИ. ХН4264ВГ
Исполняют с ИЭЭЭ 802,3 стандарта включая 350 уХ минуту ОКЛ с 8мА косым.
Исполните с КД номера детали РоХС требовани-всем, никаким Хг,
Отсутствие Кр6+, отсутствие ПББ и ПБДЭ и отсутствие Пб на внешних штырях.
Электротехнические условия @ 25°К
коэффициент 1.Турнс:
@ТС=1КТ: 1КТ ±3% РС=1КТ: 1КТ ±3%П2.Индуктансе ОКЛ:
ДК минуты 100КХз 0.1В 8мА @350уХ
потеря 3.Инсертион: @1-100МХз: - 1.2дБ Макс
потеря 4.Ретурн:
@30МХз: - 15дБ минута, 50МХз: - минута 13дБ
80МХз: - 11дБ МИН.
беседа 5.Кросс:
@0.3-30МХз: - 40дБ минута, 30-60МХз: - минута 35дБ
60-100МХз: - 30дБ МИН.
сброс режима 6.Коммон:
@1-30МХз: - 30дБ минута, 30-60МХз: - минута 25дБ
60-125МХз: - минута 20дБ
7.Исолатион ХИ-ПОТ:
@1500Врмс (входной сигнал к выходу)
температура 8.Оператинг: 0~70℃
диапазон температур 9.Стораге: -25℃~+125℃
| Лан модуля 10/100Басе-ТС порта квадрацикла Ботхханд Х4П041НС ЛФ магнитный ко всему ПХИ | |||
|---|---|---|---|
| Х4П041НС ЛФ | К855-2Б4Р-54 | Х4П041НС ЛФ | 0879-2К6Р-54 |
| ХС1225ФНЛ | Х4П041НС ЛФ | Х4П041НС ЛФ | Х4П041НС ЛФ |
| 0826-1С4Т-43-Ф | 0810-2Х6Р-28-Ф | 0811-2С4Р-28-Ф | 0854-2С8Р-ГК-Ф |
| ХС2326НЛ | 20ПТ1024С ЛФ | Х4П041НС ЛФ | 0895-2С6Р-ГК |
| 13Ф-2010КНЛ | Х4П041НС ЛФ | С560-6600-ГГ | ХН4264ВГ |
| 7490101120 | Х2001ДГ | Х4П041НС ЛФ | С553-6500-44 |
| Х2001ДГ | С553-6500-Э2 | ХН4264ВГ | Х4П041НС ЛФ |
| С553-1084-11 | ЛП41654АНЛ | С560-6600-ГМ | С553-6500-55 |
| ХН4264ВГ | С553-6500-Э4 | С560-6600-ГВ | ХН4264ВГ |
| ЛП41654АНЛ | Х4П041НС ЛФ | Х2001ДГ | 7490101120 |
ПРИМЕЧАНИЯ:
1.Мец все стандарты ИЭЭЭ включая 350уХ ОКЛ с 8мА косо
2.Сымметрикал ТС и каналы РС для автоматической возможности МДИ/МДИС
части 3.Фор РоХС уступчивые добавляют суффикс НЛ
припой 4.РоХС «НЛ» пиковый классифицируя 235℃.

