20 тонн экскаваторные приспособления Риппер для R210LC-7 EC200D EC210 DH200-5 EX210
Что такое разрывник экскаватора?
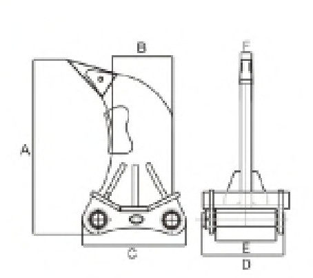
Присоединение экскаватора-репер
Разрыватель может быть использован для разрыва твердой земли и вывода объектов, таких как корни деревьев, камни и закопанные трубы.Разрывник чрезвычайно тяжелый в строительстве с требовательным обслуживанием в авангарде в конструкцииЗакаленный стальной наконечник продлевает срок службы при уменьшении износа.
Разрывник экскаватора Применение
Экскаватор Ripper - это незаменимый электроинструмент в области современного строительства. Он подходит для работы в различных суровых условиях.Он может быстро разбить почву и повысить эффективность работы.
Как проверить, подходит ли разрывник для экскаватора или нет?
Разрывник экскаватора - это широко используемое приспособление для экскаватора.
А. Диаметр булавки. Диаметр булавки должна быть такой же, как диаметр булавки буксира.
B. Расстояние до центра. Расстояние до центра разорвателя должно быть близко к расстоянию до центра ведра экскаватора, обычно не более 50 мм.
C. Ширина резчика. Ширина резчика должна быть такой же или немного больше, чем ширина резчика ведра экскаватора, в противном случае резчик может не быть успешно установлен.
Почему выбрали нас?
1Мы являемся ведущим китайским производителем резцов экскаваторов, у нас есть собственный завод и 10-летний опыт производства.
2. у нас 10 технических экспертов и более 80 квалифицированных рабочих.
3Есть специализированная команда по контролю качества, качество соответствует строгим международным стандартам
Для чего используется зуб-раздиратель?
Зуб-разрывник - это приспособление, которое устанавливается на экскаватор и используется для разрыва скал и очень твердой земли.способный копать; или разорвать даже самую твердую почву.
Применимые условия и характеристики продукта:
Каркас имеет износостойкую марганцевую пластину Q355B,
высокая прочность и коррозионная стойкость.
Остров штифта использует 42CrMo сталь, высокая прочность, хорошая
Стойкость.
Используется для раскопок трещин, сломанных замерзших грунтов,
также используется для копания асфальтовых покрытий, твердой почвы, субардового камня,
дробление и расщепление ветровых ископаемых.

| Спецификация | |||||||
| Модель | Единица | DPAR200 | DPAR400 | DPAR600 | DPAR800 | DPAR1000 | DPAR1200 |
| Подходящий экскаватор | тонны | 1 ~ 4 | 5 ~ 9 | 10 ~ 17 | От 18 до 24 | 25 ~ 32 | 33 ~ 45 |
| Общая ширина | мм | 270 | 320 | 410 | 4696 | 560 | 680 |
| Общая длина | мм | 700 | 1000 | 1300 | 1460 | 1650 | 1600 |
| Высота ((O) | мм | 380 | 420 | 570 | 668 | 735 | 790 |
| Диаметр булавки ((D) | мм | 40 ~ 50 | 50 ~ 55 | 60 ~ 70 | 70 ~ 80 | 80 ~ 90 | 90 ~ 120 |
| OpenWidth ((E) | мм | 150 ~ 180 | 180 ~ 200 | 200 ~ 315 | 300 ~ 350 | 360 ~ 420 | 400 ~ 460 |
| Вес | в кг | 80 | 145 | 280 | 550 | 750 | 870 |

| RFQ: |
| Вопрос: Вы производитель? |
| О: Да, наша фабрика была основана в 2010 году и у нас есть возможность торговли |
| Вопрос: Вы уверены, что ваш продукт подойдет моему экскаватору? |
| О: Да, мы профессионалы в этом вопросе, вы также можете сказать мне свою модель экскаватора, и мы проверим ее для вас. |
| Q: Вы можете предоставить дизайн клиентов? |
| О: Конечно, мы можем предоставить услуги OEM и ODM. |
| Вопрос: каков MOQ и условия оплаты? |
| О: MOQ 1set. Оплата через T / T, Western Union принята, другие условия могут быть обсуждены. |
| Вопрос: Как насчет сроков доставки? |
| A: 5-25 рабочих дней после оплаты, в зависимости от вашего количества. |
| Вопрос: Как насчет пакета? |
| Ответ: Наш гидравлический разрывчик завернут растяжной пленкой, упакованный в паллетный или полистроительный корпус. |
| В: В какую страну вы экспортировали? |
| Ответ: Вьетнам, Саудовская Аравия, Америка, Таиланд, Новая Зеландия, Канада, Австралия, Перу, Чили, Бразилия, Мексика, Иран, Южная Африка и т.д. |