Хромий нося стальную, который подвергли механической обработке внутреннюю серию LRB61012 LRB202420 дюйма кольца
Внутренние кольца можно интегрировать с типа раковин или различными, который подвергли механической обработке подшипниками ролика иглы для того чтобы обеспечить хорошую поддержку ролика без тревожиться о преждевременной носке вала. Мы жар-обслуживание и смолоть наши внутренние кольца к плотным допускам для создания трудных, жестких raceways для применений где невозможно сделать поверхности вала к специфическому атрибуту твердости или шершавости. Они экономическая альтернатива к втулкам потому что они не требует никакой дополнительный подвергать механической обработке.
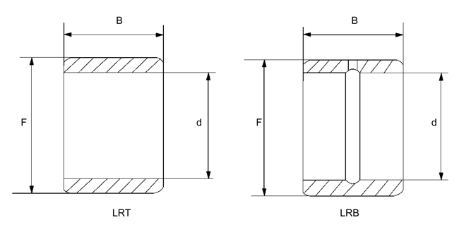
Внутренние кольца для типа Подвергать механической обработке подшипников ролика иглы
Внутренние кольца для типа подвергать механической обработке подшипников ролика иглы приходят в разнообразие размеры. кольца типа Дюйм серии LRB внутренние предлагают диаметры вала от ⅜ до 3 дюймы ¾ и версии масл-отверстия для более легкой смазки.
MOUETTE предлагает больше таблиц взаимообмена подвергло внутренние кольца, и стандартные и подгонянные внутренние кольца механической обработке, в подшипнике качественном стальном 100Cr6 Высоко-сплава, и нержавеющей стали 440C.
Подвергли механической обработке внутренние спецификации серии дюйма кольца:
|
Вал Диаметр |
Подшипник Обозначение |
Масса Приблизительно |
Размеры границы | ||||
| d | F | B | |||||
| mm | g | в | mm | в | mm | mm | |
|
9,525 (3,8) |
LRB 61012 | 18,5 | 3/8 | 9,525 | 3/8 | 15,875 | 19,300 |
|
12,700 (1/2) |
LRB 81212 | 23,5 | 1/2 | 12,700 | 3/4 | 19,050 | 19,300 |
| LRB 81216 | 31 | 1/2 | 12,700 | 3/4 | 19,050 | 25,650 | |
|
15,875 (5/8) |
LRB 101412 | 28 | 5/8 | 15,875 | 7/8 | 22,225 | 19,300 |
| LRB 101416 | 37,5 | 5/8 | 15,875 | 7/8 | 22,225 | 25,650 | |
|
19,050 (3/4) |
LRB 121612 | 33 | 3/4 | 19,050 | 1 | 25,400 | 19,300 |
| LRB 121616 | 44 | 3/4 | 19,050 | 1 | 25,400 | 25,650 | |
|
22,225 (7/8) |
LRB 141816 | 50 | 7/8 | 22,225 | 11/8 | 28,575 | 25,650 |
| LRB 141820 | 62 | 7/8 | 22,225 | 11/8 | 28,575 | 32,000 | |
|
25,400 (1) |
LRB 162016 | 56 | 1 | 25,4 | 11/4 | 31,750 | 25,650 |
| LRB 162020 | 72 | 1 | 25,4 | 11/4 | 31,750 | 32,000 | |
|
28,575 (11/8) |
LRB 182216 | 63 | 11/8 | 28,575 | 13/8 | 34,925 | 25,650 |
| LRB 182220 | 77 | 11/8 | 28,575 | 13/8 | 34,925 | 32,000 | |
|
31,750 (11/4) |
LRB 202406 | 71 | 11/4 | 31,750 | 11/2 | 38,100 | 25,650 |
| LRB 202420 | 86 | 11/4 | 31,750 | 11/2 | 38,100 | 32,000 | |
|
34,925 (13/8) |
LRB 222616 | 77 | 13/8 | 34,925 | 11/2 | 41,275 | 25,650 |
| LRB 222620 | 96 | 13/8 | 34,925 | 15/8 | 41,275 | 32,000 | |
|
38,100 (11/2) |
LRB 242816 | 80 | 11/2 | 38,100 | 15/8 | 44,450 | 25,650 |
| LRB 242820 | 100 | 11/2 | 38,10 | 13/4 | 44,450 | 32,000 | |
| LRB 243020 | 155 | 11/2 | 38,100 | 13/4 | 47,625 | 32,000 | |
|
41,275 (15/8) |
LRB 263212 | 135 | 15/8 | 41,275 | 2 | 50,800 | 25,650 |
| LRB 263220 | 170 | 15/8 | 41,275 | 2 | 50,800 | 32,000 | |
|
44,450 (13/4) |
LRB 283624 | 300 | 13/4 | 44,450 | 21/4 | 57,450 | 38,350 |
| LRB 283628 | 345 | 13/4 | 44,450 | 21/4 | 57,450 | 44,700 | |
|
50,800 (2) |
LRB 324024 | 335 | 2 | 50,800 | 21/2 | 63,500 | 38,350 |
| LRB 324028 | 390 | 2 | 50,800 | 21/2 | 63,500 | 44,700 | |
|
57,150 (21/4) |
LRB 364424 | 375 | 21/4 | 57,150 | 23/4 | 69,850 | 38,350 |
| LRB 364428 | 440 | 21/4 | 57,150 | 23/4 | 69,850 | 44,700 | |
|
63,500 (21/2) |
LRB 404824 | 410 | 21/2 | 63,500 | 3 | 76,500 | 38,350 |
| LRB 404828 | 480 | 21/2 | 63,500 | 3 | 76,500 | 44,700 | |
|
69,850 (23/4) |
LRB 445228 | 530 | 23/4 | 69,850 | 31/4 | 82,550 | 44,700 |
| LRB 445232 | 600 | 23/4 | 69,850 | 31/4 | 82,550 | 51,050 | |
|
76,200 (3) |
LRB 485632 | 640 | 3 | 76,200 | 31/2 | 88,900 | 51,050 |
|
82,550 (31/4) |
LRB 526032 | 690 | 31/4 | 82,550 | 33/4 | 95,250 | 51,050 |
|
88,900 (31/2) |
LRB 566432 | 750 | 31/2 | 88,900 | 4 | 101,60 | 51,050 |




