Ручная работа с кабельной катушкойCB*875-78
Описание
CB*875-78 кабельная катушка используется для хранения корабельных кабелей заземления.
Основные технические характеристики:
1. Применимо к кабелям для хранения;
2Тип модели: A28, B16, B22, C36, C44;
3Диаметр кабеля:27.6~44 мм;
4. Вместимость для хранения барабана длина стальной проволоки: 150 ~ 230 м;
5- Шнурки для ног Количество: 6 ~ 14;
6Материал:304, 316L нержавеющая сталь, полированная нержавеющая сталь, мягкая сталь.
7. гладкая поверхность без осколков, трещин, острых углов и т.д.
8. вал смазанный;
9. Sa2.5 Песочница и антикоррозионная эпоксидная краска;
11. Удовлетворять специальным требованиям клиента;
Основные технические параметры:
| Тип | Имя | Модель | Применимый кабель | Примечание | |
| Диаметр кабеля (мм) |
Максимальная длина кабеля (л) м | ||||
| А. |
Кабельная катушка с электричеством Текущая петля |
A28 | 27.6 | 150 |
CHF R кабель 3x25 50A ниже |
| В. | Тип ручки кабельного катушка | В16 | 12.7 | 125 | |
| 16 | 100 | ||||
| В22 | 20.3 | 200 | |||
| 22.6 | 180 | ||||
| В | Ручное колесо типа кабельной катушки | C36 | 28 | 220 | |
| 36 | 180 | ||||
| C44 | 38 | 230 | |||
| 44 | 200 | ||||
Рисунок кабельной катушки типа А с электрическим потоком

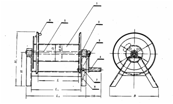
Рисунок кабельной катушки типа "Б"

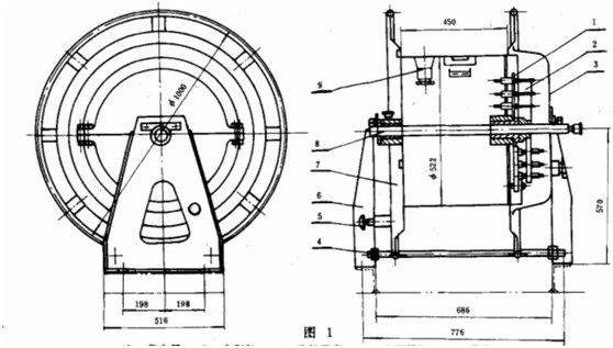
Рисунок кабельной катушки ручного колеса типа С
