Корабль кнопки ролика отливки GB/T 10105 стальной морской причаливая оборудование
Описания:
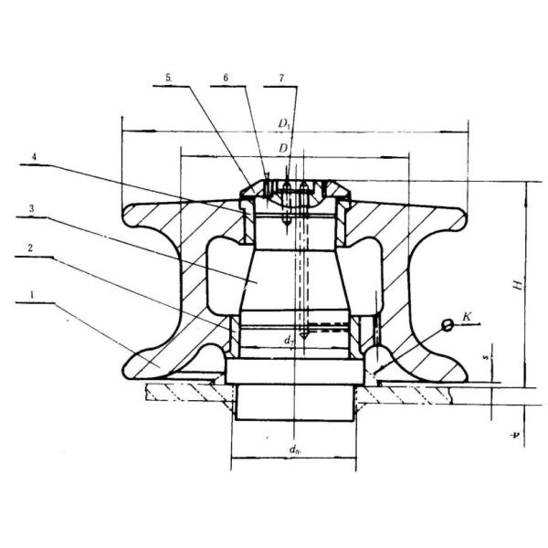
Fairleads ролика Shipside используемые для проводника причаливать веревочку кораблей. В зависимости от конструкции, fairleads ролика быть расклассифицированным как следование 2 типов: тип 2 роликов; тип 3 роликов. Ролик сделан из бросая стали, основание сделан из слабой стали. Он сидеть на за борт бортовом на палубе для того чтобы привести направление причаливая веревочки и веревочки стального провода.
Главные технические данные:
1. Технический стандарт: GB/T 10105-88
2. Тип: Открытый тип
3. Диаметры ролика: 150~450mm
4. Ролик нет: 2/3 роликов
5. Вес ролика: 24.8~310kg
6. Материалы: Слабая сталь, C-Mn сталь, нержавеющая сталь, бросая сталь, узелковое литое железо
7. Поверхностное покрытие: sandblasting к S2.5 + один слой праймера магазина эпоксидной смолы, гальванизированное, отполированное, подгонянное поверхностное покрытие доступное.
8. Сертификаты классификации: CCS, NK, BV, ABS, DNV-GL, LR, KR, IRS, RS, Etc.
9. Смогите быть подгоняно
Основной технический параметр:
| Dia ролика. | Соответствующие диаметры веревочки провода | Размеры | Вес | |||||||||
| Веревочка PP | Нейлон |
Веревочка стального провода (155kgf/mm2) |
||||||||||
| 6 x 24 | 6 x 37 | D1 | d0 | d7 | H | s | t | K | kg | |||
| 150 | 32 | 45 | 17 | 15. 0 | 240 | 90 | 79 | 154 | 5 | 12 | 9 | 24,8 |
| 200 | 40 | 55 | 22,5 | 19,5 | 310 | 115 | 99 | 186 | 5 | 14 | 10 | 49,3 |
| 250 | 45 | 65 | 24 | 24 | 380 | 135 | 119 | 230 | 6 | 14 | 10 | 92 |
| 300 | 50 | 70 | 30 | 28. 0 | 440 | 155 | 129 | 255 | 7 | 16 | 12 | 127 |
| 350 | 55 | 75 | 37,5 | 34,5 | 500 | 175 | 149 | 271 | 7 | 18 | 13 | 168 |
| 400 | 65 | 85 | 41,0 | 39. 0 | 560 | 185 | 159 | 307 | 7 | 20 | 14 | 252,5 |
| 450 | 80 | - | 44,5 | 43 | 630 | 210 | 179 | 316 | 7 | 20 | 14 | 310 |
| Dia ролика. | L | Соответствующий Dia веревочки провода. | ||||
| Веревочка PP | Веревочка Malila | Веревочка стального провода (G B 11 02) Прочность на растяжение (155 kg f/mm2) |
||||
| 6 x 24 | 6 x 37 | |||||
| 150 | 420 | 740 | 32 | 45 | 17,0 | 15 |
| 200 | 530 | 930 | 40,00 | 55 | 22,5 | 19,5 |
| 250 | 640 | 1100 | 45 | 65 | 24 | 24 |
| 300 | 750 | 1270 | 50 | 70 | 30 | 28 |
| 350 | 860 | 1440 | 55 | 75 | 37,5 | 34,5 |
| 400 | 970 | 1610 | 65 | 80 | 41,0 | 39,0 |
| 450 | 1080 | 1800 | 80 | - | 44,5 | 43 |
| 150 | 420 | 1160 | 32 | 45 | 17 | 15,0 |
| 200 | 530 | 1460 | 40 | 55 | 22,5 | 19,5 |
| 250 | 640 | 1740 | 45 | 65 | 24 | 24 |
| 300 | 750 | 2020 | 50 | 70 | 30,0 | 28,0 |
| 350 | 860 | 2300 | 55 | 75 | 37,5 | 34,5 |
| 400 | 970 | 2580 | 65 | 80 | 41 | 39,0 |
| 450 | 1080 | 2880 | 80 | - | 44,5 | 43,0 |
| 150 | 420 | 1580 | 32 | 45 | 17 | 15 |
| 200 | 530 | 1990 | 40 | 55 | 22,5 | 19,5 |
| 250 | 640 | 2380 | 45 | 65 | 24 | 24 |
| 300 | 750 | 2770 | 50 | 70 | 30 | 28 |
| 350 | 860 | 3160 | 55 | 75 | 37,5 | 34,5 |
| 400 | 970 | 3550 | 65 | 80 | 41 | 39 |
| 450 | 1080 | 3960 | 80 | 44,5 | 43 | |

Чертежи корабля кнопки ролика отливки GB/T 10105 стального морского причаливая оборудование
