UL 746A UL 498 Высокоскоростное возгорание дугой, твердые изоляционные материалы, оборудование для испытания воспламеняемости
Обзор:
Устройство для испытания высокоточного дугового зажигания соответствует UL 746A, пункт 33, UL 746C, пункт 49, UL 498, пункт 114, IEC 60950-1, BS EN 60950-1, BS 7002 и т.д.
Эта испытательная камера легковоспламеняемости полезна для различения твердых изоляционных материалов в отношении устойчивости к возгоранию от арковых электрических источников.Подходит для испытаний на сопротивление дуге материалов электрических и электронных продуктов, бытовые приборы и т.д.
Принцип работы:
Принцип работы заключается в моделировании электрической утечки на изоляторе, которая может быть вызвана между различными полюсами живых частей или между живыми частями и заземленными (заземленными) металлическими частями.Он используется для измерения и оценки аркового сопротивления изолятора при предписанном напряжении.
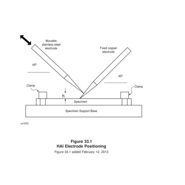
Высокоточный испытатель дугового зажигания использует двойные электроды.в соответствии с определенной скоростью дугового удара (254 мм/с) и частотой повторения (40 раз/мин)Высокая мощность зажигания дугой (HAI) может быть оценена в зависимости от того, может ли образец зажигаться.
Технические параметры:
| Электроды |
Ф3.5mm 30° Медный ((статический) электрод Ф3.0mm 60° электрод из нержавеющей стали ((Динамический) |
| Ток ударного дуга | 33А |
| Напряжение ударного дуга | 220-240 В |
| Скорость работы электрода | 254 мм/с±25 мм/с |
| Частота удара дугой | 40 раз в минуту |
| Фактор мощности | COSφ0.5 |
| Время испытания | 0-9999 раз |
| Источник питания | 220VAC, 60Hz источник высокой мощности |
Процедура испытания:
Испытание проводится на пяти образцах, каждый из которых, в свою очередь, зажимается так, чтобы продольная ось образца была нормальной к общей вертикальной плоскости электродов. The fixed electrode is to be secured in place such that the chisel edge is in firm contact with the top surface of the specimen with sufficient force to ensure the electrode remains stationary during the testТочка соприкосновения фиксированного электрода должна быть не менее 4 мм от любого края образца.Движущийся электрод должен быть регулирован таким образом, чтобы он контактировал с фиксированным электродом между 0.75 до 1,00 мм над поверхностью образца.Оборудование должно быть настроено таким образом, чтобы обеспечить время пребывания 100±20 мс, прежде чем вывод электрода нарушит схему, и время дуги должно быть настроено на скорость 40 полных дуг в минуту.Проверка должна продолжаться до тех пор, пока не произойдет зажигание образца, отверстие будет сгорело через образец.или до тех пор, пока не пройдет 150 циклов..
При возникновении возгорания или пробоя через любой образец может проводиться дополнительное испытание на поверхности.Это необязательное испытание проводится на дополнительном наборе из трех проб, испытанных при контакте электродов не более 1.6 мм выше поверхности образца. Если возникнет зажигание или отверстие в течение 150 циклов,дополнительный набор из трех образцов может быть опробован с электродами, контактирующими не более чем с 3.2 мм над поверхностью образцов. В результате испытания исключается отверстие, вызванное ударом фиксированного электрода на образец или разрывом.Или отверстия, вызванные сжиганием образца., в результате дуги, должны быть зарегистрированы и включены в отчет.
Следующее должно быть зарегистрировано в зависимости от обстоятельств:
a) Количество дуг, которые могут вызвать возгорание.
b) Количество дуг, которые вызывают отверстие через образец
c) Максимальное количество циклов - 150.
d) Замечания, касающиеся плавления, обжига и т.п.

