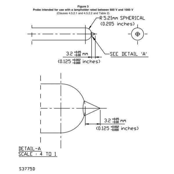
UL 496 Рисунок 3 Зонд, предназначенный для использования с лампочкой с номинальной напряжением от 600 до 100 В
Обзор продукта:
Этот зонд соответствует UL 496 2013 пункт 4.5.2.1, 4.5.2.2 и таблицы 2, рисунок 3.




Sinuo может предложить различные испытательные зонды в соответствии с требованиями различных стандартов, наш испытательный зонд с высокой точностью, который может пройти калибровку третьей стороны.Здесь мы делимся наши наши списки испытательных зондов в соответствии с IEC 60312 следующим образом:
| Номер товара: | Наименование и модель | Краткое введение |
| 1 |
Испытательный зонд А СН2210-1 |
Соответствует рисунку 1 согласно IEC 61032 Сфера: Ф50 с белой нейлоновой ручкой и стальным зондом |
| 2 |
Испытательный зонд B СН2210-2 |
Соответствует рисунку 2 согласно пункту 8 IEC 61032 и IEC 60335-1.1.1, 8.2, 22.129 лет.129 лет.2, IEC 60529 и т.д. |
| 3 |
Аналогичный испытательный зонд B, но имеющий круглую стоп-линию диаметром 50 мм SN2210-2A |
Соответствует пункту 20 IEC 60335-1.2. Аналогичный испытательный зонд B, но с круглой стоп-линией диаметром 50 мм |
| 4 |
Испытательный зонд С Сноска. |
Соответствует рисунку 3 согласно пункту 22 IEC 61032 и IEC 60335-1.1, IEC 60529 IP3 и т.д. СтерженьФ2,5 мм - длина 100 мм |
| 5 |
Испытательный зонд D СН2210-4 |
Соответствует рисунку 4 согласно IEC 61032, IEC 60335-1, пункт 22.1, IEC 60529 IP4 и т.д. Провод: Ф1 мм - длина 100 мм |
| 6 |
Испытательный зонд 1 Сноска. |
Соответствует рисунку 5 согласно пункту 22 IEC 61032 и IEC 60335-1.1, IEC 60529 IP1 и т.д. Сфера: Ф50 мм |
| 7 |
Испытательный зонд 2 Сноска. |
Соответствует рисунку 6 согласно пункту 22 IEC 61032 и IEC 60335-1.1, IEC 60529 IP2 и т.д. Сфера: Ф12.5 мм |
| 8 | Испытательный зонд 11 Сноска. |
Соответствует требованиям IEC 61032 фиг. 7 испытательного зонда 11, IEC 60335-1 пункт 22.11, IEC 60065:2014 пункт 9.1.7, IEC60065, IEC60598, и т.д. Несоединенный испытательный палец с белой нейлоновой ручкой и булавкой из нержавеющей стали |
| 9 | Пробный зонд с жесткими пальцами 11 SN2210-7T | Соответствует испытательной сонде 11 согласно фиг.7 IEC 61032 с силой 0 ~ 75N |
| 10 |
Испытательный зонд 12 Сноска. |
Соответствует испытательному зонду 11 согласно таблице 8 IEC 61032. Ключ цилиндра: Ф4 мм - длина 50 мм. Белая нейлоновая ручка и ключ из нержавеющей стали |
| 11 | Испытательный зонд 13 SN2210-9 |
Соответствует испытательному зонду No 13 согласно таблице 9 IEC 61032. Конический шпиль: Ф3mm до Ф4mm |
| 12 |
Испытательный зонд 14 СН2210-10 |
Соответствует испытательному зонду 14 согласно фигуре 10 IEC 61032. Стержень: 3 мм × 1 мм с белой нейлоновой ручкой и штифтом из нержавеющей стали |
| 13 |
Испытательный зонд 17 СН2210-11 |
Соответствует испытательной сонде 17 согласно IEC 61032, рисунок 11. Провод: Ф0,5 мм, с белой нейлоновой ручкой и штифтом из нержавеющей стали |
| 14 |
Испытательный зонд 18 СН2210-12 |
Соответствует испытательному зонду 18, IEC 61032 фигура 12. Зонд с маленьким пальцем: Ф8.6 мм - длина 57.9 мм |
| 15 |
Испытательный зонд 19 СН2210-13 |
Соответствует испытательному зонду No 19 на фиг. 13 IEC 61032. Зонд с маленьким пальцем: Ф5.6 длиной 44 мм |
| 16 |
Испытательный зонд 31 СН 2210-14 |
Соответствует испытательному зонду No 31 на фиг. 14 IEC 61032. Конус: Ф110 мм/60 мм |
| 17 |
Испытательный зонд 32 СН2210-15 |
Соответствует испытуемому зонду 32, таблице 15 IEC 61032. Стержень: Ф25 мм. |
| 18 |
Испытательный зонд 41 СН2210-16 |
Соответствует испытательному зонду 41 согласно IEC 61032 фиг. 16. Зонд: Ф30 мм. |
| 19 |
Испытательный зонд 43 СН2210-17 |
Соответствует испытательной зонде 43 согласно таблице 17 IEC 61032. Стержень: 50 мм × 5 мм |