UL486A-B Таблица 26 Испытание повреждения проволоки Устройство для испытания повреждения проволоки Терминалы винта Испытание механического напряжения
Информация о продукте:
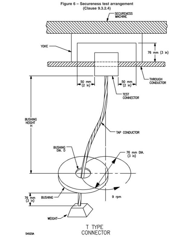
Данное испытательное устройство соответствует пункту 9 UL486A-B.3.2.1, пункт 9.3.2.3, пункт 9.3.2.4 и таблицы 26 и рисунка 6, IEC60947-1, и т.д.
Образцы и ограничения: винтовые терминалы, беспроводниковые терминалы и соединители.
Цель испытания: исследовать, могут ли винтовые и беспроводниковые узлы выдерживать механические нагрузки, возникающие при нормальном использовании.Он в основном используется для того, чтобы судить, соответствуют ли конструкция и структура терминального блока зажимания нитей требованиям не чрезмерно повреждать проволоку при зажимании проволоки.
Принцип испытания: с использованием конструкции винта на проводнике. Количество испытаний может быть предварительно установлено перед использованием. Когда установленное значение будет достигнуто, машина автоматически остановится и подаст сигнал тревоги.

Технические параметры:
| Управление и эксплуатация | Управление ПЛК, работа с сенсорным экраном |
| Испытательная станция | Одна станция |
| Драйв | Сервопривод |
| Установка |
1Централизующий блокировочный прибор отвечает требованиям терминальных блоков длиной, шириной и высотой 60*70*90 мм соответственно. 2. оборудован дополнительной крепляющейся пластиной размером 300*250 мм, которая может использоваться взаимозаменяемо с централизующим блокирующим зажимом. 3Максимальное расстояние между креплением и центром вращения 120 мм, регулируемое |
| Скорость вращения |
5 ~ 15 оборотов в минуту, может быть предварительно настроен на сенсорном экране, (UL486A-B требует 9 оборотов в минуту) |
| Диаметр вращения | Принимает вращающийся диск с двумя отверстиями, диаметр ø75 мм |
| Количество испытаний/время |
1. 0-999999, он автоматически остановится, когда будет достигнуто предопределенное количество испытаний. 2Время испытания может быть переключено на 0-9999 мин в соответствии с различными стандартными требованиями и может быть предварительно настроено. |
| Масса груза |
Набор весов может достичь 0.7, 0.9, 1.4, 2.3, 3.6, 4.5, 6.8, 8.2, 11.4, 13.618 лет.2, 22.725, 27.234 года.136 лет.340 лет.945 лет.449 лет.9, 54.5- Семьдесят.481.793.1109. Единица: кг, вес крюка включен в общую массу |
| Диапазон регулировки высоты | 250~800 мм, регулируемый, с индикатором шкалы |
| Способ регулировки высоты | Ручная регулировка |
| Диаметр резины | Конфигурация UL486A-B: 6.4, 9.5, 12.7- Четырнадцать.3, 15.819 лет.1, 22.225 лет.428 лет.6, 31.834 года.938 лет.144 года.5Пятьдесят.8, 54 мм |
|
Выбор образца спецификации (см. прилагаемую таблицу) |
UL486A-B Таблица 26 |
| Механизм подъема веса | Оснащенный электрическим механизмом подъема, большой весной лоток для предотвращения падения |
Конфигурация шины и массы приведена в следующей таблице:



