IEC60601-1 Полностью автоматизированное медицинское оборудование для полного испытания кровати
Информация о продукте:
1. Стандарт: соответствует IEC60601-1:2012, YY9706.252-2021 пункт 201.9.8.3.3 и 201.9.8.3.3.4, IEC60601-2-52:2009.
2Пробы и ограничения: медицинская кровать.
3. Применение: он подходит для медицинских больничных коек для моделирования динамического и статического теста нагрузки человеческого тела. Он также используется для прочности, жизненного теста, удара,и испытания прочности боковых рельсов медицинских больничных коек для проверки прочности, безопасности и надежности.
4Принцип испытания: сервомотор управляет манипулятором для выполнения испытания статической нагрузки, испытания динамической усталости нагрузки, испытания напряжения боковых рельсов, испытания прочности тяги,испытание на удар и долговечность на медицинской кровати.
5Структура и характеристики оборудования: Устройство состоит из расширенной рабочей поверхности, механической руки с верхней загрузкой, механической руки с боковой загрузкой, подъемного устройства с свободным падением,рама полностью из стали, и электрический шкаф управления. Испытательная скамейка использует интеллектуальное центральное интегрированное управление PLC, сенсорный экран и работу, and is driven by a servo motor to apply a certain force value on the top and side of the sample (in the direction required by the standard) for a certain period according to the standard requirements to verify its mechanical strength. Двигательное устройство поднимается и опускается для выполнения испытания на столкновение свободного падения на больничной койке.и количество испытаний можно установить через интерфейс сенсорного экранаДавление автоматически накладывается на бока и верх, чтобы соответствовать образцам различных спецификаций, и процесс испытания может быть полностью автоматизирован.
Технические параметры:
| Размеры оборудования |
Около: 4800×2000×2250 (мм)
|
| Масса оборудования | 500 кг |
| Обстановка использования | Силовое питание: AC220V±10%/50-60Hz, мощность 3.0KW |
| Станция | Одна станция может быть настроена |
| Метод электрического управления | Интеллектуальное интегрированное управление ПЛК, цветное взаимодействие между человеком и машиной с помощью сенсорного интерфейса |
| Диапазон размеров испытания | Не больше WDH=120cm*200cm*130cm |
| Способ закрепления образца | Механические зажимы |
| Предметы испытаний и процессы действия |
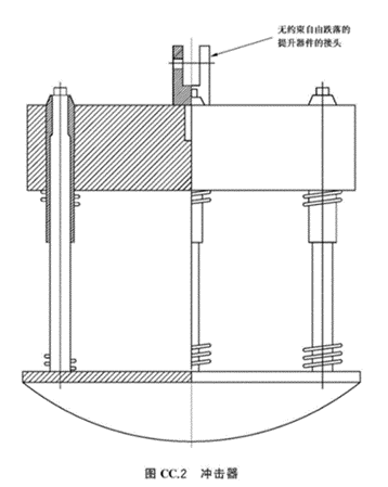
1Испытание статической нагрузки на человеческое тело (201.9.8.3.2): значение силы нагрузки 0-4000N, время постоянной силы: 0-9999min 2Испытание динамической нагрузки на человеческое тело (201.9.8.3.3.1): значение нагрузки 1350N, количество испытаний: 10 000 раз 3. Испытание прочности боковых рельсов и надежности замков (201.9.8.3.3.3): Значение силы нагрузки 1350N a) Испытание повторяющегося цикла действия боковой силы: сила 100 Н перпендикулярно боковой рельсе наносится на верхнюю среднюю часть боковой рельсы в направлении, указанном E или F на рисунке 201.117Обратное направление, повторяем 3000 раз. b) Продолжительное испытание силового цикла повторного действия, как показано на рисунке 201 в форме C или D.117, применить силу 100 Н вдоль продольного направления боковой панели. обратное направление. повторить 3000 раз; c) Испытание с вертикальным силовым повторяющимся действием, как показано на рисунке 201.117, приложить силу 100 Н на верхнюю часть боковой панели в вертикальном направлении. Повторить 3000 раз. Не требуется испытания в направлении А; d) После выполнения а), б) и с) нанести статическую нагрузку в направлении, указанном на рисунке 201.117, вдоль наихудшего положения. 4Испытание динамической нагрузки на прут: 750 Н, 1000 раз 5Испытание удара на подпорную платформу матраса (CC.2.2): Рисунок CC.2 ударный прибор, испытание на 180 мм свободного падения через автоматическое подъемное устройство, 20 раз |
| Устройство механического действия |
1 комплект вертикального манипулятора: диапазон силы 0-4000N, подходящий для пунктов испытания 1, 2, 3 (с, д), 4, 6, 7 1 комплект бокового манипулятора: диапазон сил 0-2000N, подходящий для предметов испытания (a, b), направление может быть переключено на 90° 1 набор подъемных роботизированных рук: высота подъема 180 мм, автоматическое мгновенное освобождение для достижения эффекта свободного падения |
| Режим привода | Сервомотор + привод с высокоточным редуктором |
| Скорость применения силы | 0-300 мм/мин |
| Время постоянной силы | 0-9999s можно установить |
| Частота испытаний | 0~999999 раз может быть предустановлено, различные испытания могут быть предустановлены в соответствии со стандартом |
| Погрузочная площадка |
1Рисунок 201.104 Погрузочная площадка полностью из стали
|
| Рисунок CC.2 Ударная установка | ![]() |
| Рама | Алюминиевая профильная рама, подходящая для крепления различных образцов |
| Плита давления | Стандартный 0.1m2 кусок, разъем M20 натянутой, и пластина давления может быть переключена для использования |
| Защита безопасности | Защита от перегрузки, защита от утечек |

