Цифровая микроволновая антенна, детектор движения, для освещения, безопасности и т.д.
Как и голова цифрового датчика PIR, это наша уникальная голова цифровой микроволновой антенны, которая дает сигнал высокого / низкого напряжения 5V для ваших продуктов / систем, чтобы принять,Выход DSP делает его легким и простым для интеграции со всеми терминал устройствЭта сенсорная голова может быть использована как компонент не только для освещения, но и для безопасности, автоматизации и т.д.
Особенности...
| Рабочее напряжение: | 5В постоянного тока | |
| Рабочий ток: | 15 мА | |
| Температура работы: | -20°C ~ + 75°C | |
| Время нагрева: | Двадцатые | |
| Цифровой выход: | 5в высокое / низкое напряжение | |
| V-Tune | ||
| Описание | Напряжение V-Tune PIN | Уровень чувствительности |
| Низкая чувствительность | 0.00v-1.249v | 25% |
| Средняя чувствительность | 1.25v-2.49v | 50% |
| Высокая чувствительность | 20,50-3,7V | 75% |
| Чувствительность испытания | 30,75-5,00 В | 100% |
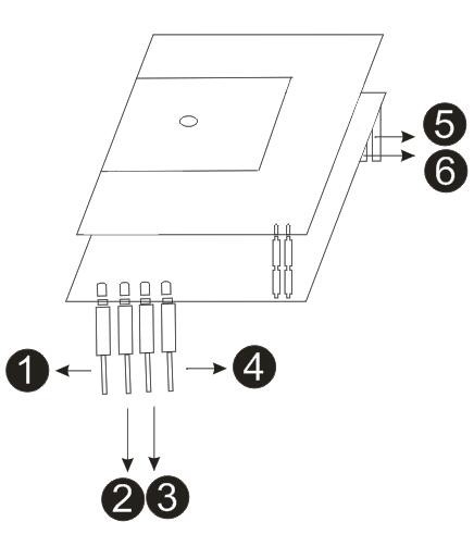
Описание ПИН-кода...
| ПИН-код | Имя | Описание |
| 1 | +5В постоянного тока | Входная постоянная мощность +5В постоянной |
| 2 | ГНД | ГНД |
| 3 | Выпуск | Выход 5В высокое / низкое напряжение |
| 4 | V-Tune | Чувствительность |
| 5 | NC | Поправить ПИН |
| 6 | NC | Поправить ПИН |

График времени...

Модель обнаружения...
