КФ8М 3ПК определяют тип вертикали нержавеющей стали задерживающего клапана подачи
Введение задерживающего клапана
Задерживающий клапан положиться на подаче самой средств массовой информации и автоматически раскрыться и закрыться щиток клапана, используемой для того чтобы предотвратить подачу средств массовой информации назад клапана, также известную как задерживающий клапан, клапан противотечения, и клапан обратного давления. Задерживающий клапан автоматический клапан, своя основная функция предотвратить средства массовой информации задние, предотвратить обратный насоса и двигателя, и отпуск средств массовой информации контейнера.
классификация
Открытие и заключительный средствами массовой информации пропускает и сила раскрыть или близкое свое собственное для предотвращения средств массовой информации подпирают вызванный клапан задерживающим клапаном. Задерживающий клапан тип автоматического клапана, главным образом используемый для средней односторонней подачи трубопровода, только для того чтобы позволить средствам массовой информации пропустить в одном направлении для предотвращения аварий.
Задерживающий клапан структурой, можно разделить в типы проходного подъемного клапана, задерживающего клапана качания и задерживающего клапана 3 бабочки:
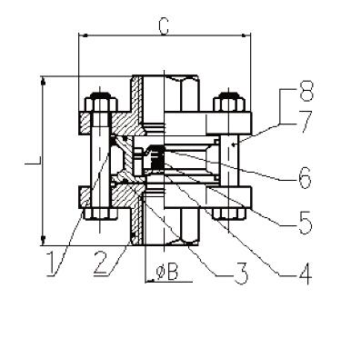
Чертеж и данные по спецификации

| РАЗМЕР | 1/4" | 3/8" | 1/2» | 3/4" | 1" | 1 1/4" | 1 1/2» | 2" | 2 1/2» | 3" | 4" |
| Б | 8 | 10 | 15 | 20 | 25 | 32 | 40 | 50 | 65 | 80 | 100 |
| К | 56 | 56 | 65 | 70 | 78 | 86 | 102 | 118 | 145 | 158 | 185 |
| Л | 61 | 61 | 69 | 74 | 80 | 95 | 101 | 114 | 136 | 146 | 174 |