Описание
Запорные заслонки конструированы для того чтобы повернуть подачу жидкости включено-выключено путем ограничивать или раскрывать подачу с кругом или прямоугольный клином. Запорные заслонки могут также контролировать давление жидкостной подачи через трубы или клапаны.
Продетая нитку НПТ запорная заслонка нержавеющей стали КФ8М. Тело КФ8М, диск КФ8М, 316 СС уравновешивает, упаковка ПТФЭ & давление АДВОКАТУРЫ сеальс0-13.6 (200пси) ряд, темп -20°К средств массовой информации к 180°К.Медя: Воздух, вода, газ, масло & некоторые кислоты
Спецификация

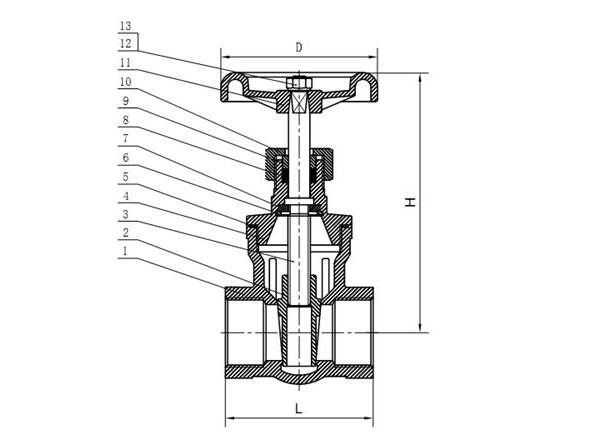
Размер
|
РАЗМЕР |
ДН | Л | Х | Д |
| 1/2» | 15 | 55 | 95 | 62 |
| 3/4" | 20 | 61 | 100 | 72 |
| 1" | 25 | 68 | 105 | 72 |
| 1 1/4" | 32 | 72 | 125 | 78 |
| 1 1/2» | 40 | 79 | 145 | 95 |
| 2" | 50 | 87 | 165 | 95 |
Материальный список
| С/Н | Имя | Материал |
| 1 |
Тело |
КФ8М |
| 2 | Диск | КФ8М |
| 3 | Стержень |
КФ8М |
| 4 | Боннет | КФ8М |
| 5 | Набивка тела | ПТФЭ |
| 6 | Пружинное кольцо | КФ8М |
| 7 |
Васер |
КФ8М |
| 8 | Паковать | ПТФЭ |
| 9 | Рукав упаковки | КФ8 |
| 10 | Набивочная коробка | КФ8М |
| 11 | Колесо руки | Алюминиевый сплав |
| 12 | Гайка | АСТМ А 194-Б8М |
| 13 | Простая шайба | АСТМ А276 304 |