Простой и красивый стальной коробки бревна моста большой протяженности
Инструкция:
Мост из стальной коробкиобычно состоит из верхней пластины (мостовой панели), сетки балки, нижней пластины, продольного и поперечного жесткости и диафрагмы (поперечной балки).
Толщина верхней пластины, балки и нижней пластины обычно составляет 12 ~ 30 мм, а толщина вторичной пластины - 10 ~ 20 мм.
Обычно используются фрагменты изготовления на заводе (длина сечения обычно составляет 10-30 м, в зависимости от условий транспортировки и подъема) и сварка на месте.
Ортотропные панели мостов из стали
Основные формы продольного реберного сечения открыты и закрыты.
Форма поперечного сечения ребер, как правило, перевернутая в форме Т, и ее расстояние - это промежуток продольных ребер.поперечные ребра должны быть снабжены вырезками.

Изделие для изготовления пластмассявляется не только основной формой балки моста, но и основной формой балки часто других длинных мостов, таких как подвесный мост и кабельный мост.
Структурная форма моста из стальной коробки
Чтобы обеспечить качество сварки, следует в максимально возможной степени использовать сварку на заводе и строго проверять качество сварки.
Нижний край верхней пластины сварят вертикальными и горизонтальными усилителями, чтобы сформировать ортогональную панель моста.Так называемая ортогональная плита означает вертикальное пересечение ребраИз-за различных параметров, таких как расстояние и жесткость уплотнителей, механические свойства ребер сильно различаются в направлении моста, направлении перекрестного моста,относительно экономичная сталь, и очень подходит для местной нагрузки на колеса.

Мост из стальных балок с одной коробкой
Сфера применения: когда ширина моста небольшая (3 полосы) или отношение ширины к ширине < 1/10
Для 4 ~ 6 полос, двойной ширины один ящик балки мост может быть принят.
Эффективная ширина фланца: интервал сетки основной лучи <= Le/5
Протяженность основного луча в выступающем виде <= Le/10
Подъем балок: если пол железобетонного моста длинный, а подъемник длинный, следует установить подъемную и боковую балки.и соответствующий поперечный перебор или поперечное ребро должны быть установлены.
Луч:стальная палуба, которая может улучшить жесткость панели моста, расстояние 1,5 м ~ 3 м (открытое ребро)
Интервал:2 ~ 4 м (закрытое ребро)

Однокамерные и многокамерные:он редко используется, а средняя брюшная пластина мало влияет на крутящуюся жесткость железной балки.

Мост из стальной балки с двойной коробкой
Сфера применения: когда ширина моста большая или размер одной коробки, производство, транспортировка, установка трудны или эффективная ширина одной коробки мала и неэкономична.
Настройка луча: может быть установлена или не установлена (см. фото ниже)

Мост из нескольких коробков из стальной балки
Сфера применения: при небольшом протяжении и большой ширине моста.
Главный луч расположен как можно более равномерно: сила главного луча равномерна.

Соотношение между высотой бревна и шириной моста плоского стального корпуса.
Он в основном используется в качестве жесткого балки для подвесных мостов, кабельных мостов и арочных мостов и т. д., а балки мостов редко используются.

В прошлом он в основном использовался для подвесных мостов из-за его большой инерции и хорошей стойкости ветра.
Верхняя и нижняя пластинки обычно укрепляются продольными ребрами в форме U
Нет промежуточной сети внутри коробки, и поперечное разделение расстояние невелико
Поперечные диафрагмы, как правило, используют твердую сетку.
Соединительная плита, перебор, продольное и поперечное упругие материалы
Продольный луч
Влияние
При большом расстоянии между основными балками протяженность панели железобетонного моста должна быть уменьшена;
Улучшить жесткость стальных панелей мостов.
Структура
Продольное расстояние между балками: для железобетонных панелей мостов не более 3 м.
Для стальных панелей мостов, когда расстояние между балками или поперечными ребрами небольшое, он не мог быть установлен.
Когда ширина моста большая, ее можно настроить.

(3) Луч
Влияние
Для двух или более ящиков, выполненных с равномерным напряжением основной балки
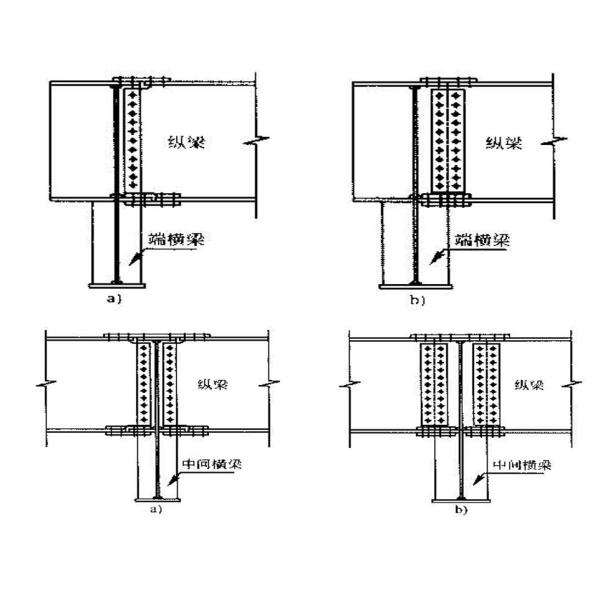
Подпорные продольные балки или мостовые панели
Конечный луч может эффективно улучшить общее торсионное сопротивление моста и рассеять реакцию опоры.
Интервал
Если продольный луч не превышает 6 м (уменьшить продольный протяженность)
Без продольного луча максимальное значение составляет 20 м. (в основном играет роль бокового распределения нагрузки)
Если продольный луч не превышает 6 м (уменьшить продольный протяженность)
Без продольного луча максимальное значение составляет 20 м. (в основном играет роль бокового распределения нагрузки)

(4) Поддержка и временное устройство опоры
Две опоры должны быть установлены в конце одного коробки стального бревна моста, чтобы обеспечить структурную стабильность и сопротивление крутящему моменту
Мост из нескольких стальных балок, одна стальная коробка и одна опора.
Когда стальная коробка оснащена несколькими опорами, неравномерная сила может возникать.
Для укрепления конструкции должен быть установлен временный опорный пункт, поддерживающий вытяжку.

3- Механические характеристики и конструктивные меры стального моста:
(1) Тип повреждения
Под действием момента изгиба сжатия фланц частично нестабилен и происходит отказ изгиба.
Бокс балки искажается под действием крутящего момента
Под действием сосредоточенной силы, близлежащая пучка луча была свернута.

(2)Структурная мера
Должны быть предусмотрены надлежащие поперечные перегородки, чтобы избежать искажения и бокового изгиба
Должны быть обеспечены достаточные укрепляющие ребра, чтобы предотвратить местную нестабильность компрессионного фланца.
Следует установить определенное упрощение ребра, чтобы предотвратить местное сжатие напряжения или вне плоскости изгиба в процессе изготовления, транспортировки и установки натяжного фланца.
Поперечные и продольные ребра должны быть установлены для предотвращения изгиба сетки и местного складения.

Структурные характеристики моста из стали:

Использование моста из стальной коробки:
Автомобильные и автомобильные мосты
Железнодорожные мосты
Мосты для пешеходов и велосипедистов
Преимущества моста из стальной коробки по сравнению с мостом из решетчатой балки:
Легкий вес, сэкономить сталь
Высокая сгибающая и торсионная жесткость
Быстрая установка и простое обслуживание
Пригодные для формирования непрерывных балки
Новинка структура, форма простая и красивая
Преимущества железобетонного моста:
Эффективность конструкции: стальные коробки мостов обеспечивают отличное соотношение прочности и веса, что означает, что они могут проходить на большие расстояния с меньшим количеством материала по сравнению с другими типами мостов.Это делает их экономически эффективным решением для мостов средней и длинной протяженности.
Жесткость и устойчивость: закрытая секция моста обеспечивает высокую торсионную жесткость и устойчивость к изгибу.что приводит к увеличению стабильности и снижению отклонения под весом моста и нагрузки на движениеЭто помогает обеспечить безопасность и долговечность конструкции.
Универсальность: стальные коробки мостов могут быть спроектированы для размещения различных конфигураций мостов, включая прямые протяженности, изогнутые протяженности или даже кабельные системы.Такая гибкость позволяет инженерам адаптировать проект к конкретным условиям и требованиям проекта..
Легкость строительства: модульный характер стальных коробковых мостов упрощает процесс строительства.сокращение времени строительства на месте и минимизация нарушений движения на этапе строительства.
Долговечность: стальные коробки мостов имеют доказанный опыт долгосрочной работы.При надлежащем обслуживании, стальные коробки мостов могут иметь срок службы в несколько десятилетий.
Обзор стальных мостов Evercross:
| Спецификация EVERCROSS STEEL BRIDGE | |
| ЭВЕРКРОСС СТЕЛЬНЫЙ мост |
Мост Бейли (Compact-200, Compact-100, LSB, PB100, China-321, BSB) Модульный мост (GWD, Delta, 450 типа и т.д.) Мост Трасса, мост Уоррена, Мост с аркой, мост с пластинкой, мост с балки, мост с балки, Подвесный мост, кабельный мост, Плавучий мост и т.д. |
| ПРОГРАФИЧЕСКИЕ ПОДРЕЖЕНИЯ | От 10 м до 300 м |
| СТРАНИЦА перевозки | Однополосный, двойной, многополосный, пешеходный, и т.д. |
| КАПАЦИТЬ погрузки | AASHTO HL93.HS15-44, HS20-44, HS25-44, BS5400 HA+20HB, HA+30HB, AS5100 Грузовик-T44, IRC 70R класс A/B, НАТО STANAG MLC80/MLC110. Грузовик-60Т, прицеп-80/100Тн и т.д. |
| Сталь | EN10025 S355JR S355J0/EN10219 S460J0/EN10113 S460N/BS4360 Степень 55C AS/NZS3678/3679/1163/класс 350, ASTM A572/A572M GR50/GR65 GB1591 GB355B/C/D/460C и т.д. |
| Сертификаты | ISO9001, ISO14001, ISO45001, EN1090, CIDB, COC, PVOC, SONCAP и т.д. |
| Сварка | AWS D1.1/AWS D1.5 AS/NZS 1554 или эквивалентный |
| Шнурки | ISO898, AS/NZS1252, BS3692 или эквивалентный |
| КОД ГАЛВАНИЗАции | ISO1461 AS/NZS 4680 ASTM-A123, BS1706 или эквивалент |
