Одноточечная модель ячеек загрузки: ЕМКОСТЬ СПА-49: особенности 50кг-500кг: Параллельная клетка нагрузки на пучки, ряд емкости от 50кг к алюминию сплава высокой отметки 500кг. хорошее загерметизированное качество, высокая точность и клей низких цен, отделывают поверхность анодированный. стандартные установка и популярный сделать масштабы стенда.
Одноточечные ячейки загрузки, параллельные клетки нагрузки на пучки
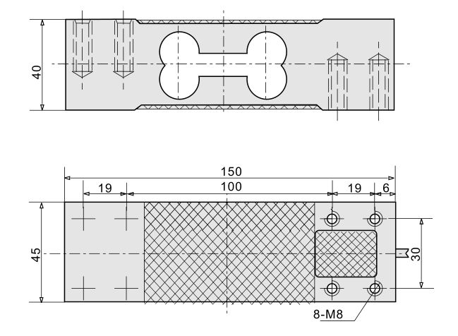
Модель: СПА-49
ЕМКОСТЬ: 50кг-500кг
Особенности:
ПРИМЕНЕНИЯ: Масштабы Суда, масштабы платформы и другие электронные веся приборы
Размеры: (мм)

| Технические параметры: | |||
| Класс точности: | C2 / К3 | ||
| Чувствительность: | 2мв/в±0.1 | ||
| Ползучесть (%Ф.С/30мин): | ±0.02 | ||
| Зеро баланс (%Ф.С): | ±1.0 | ||
| Сопротивление входа: | 405±10 | ||
| Сопротивление выхода: | 350±3 | ||
| Сопротивление изоляции: | ≥5000 (100ВДК) | ||
| Темп. влияние на пяди (%Ф.С/10℃): | ±0.02 | ||
| Темп. влияние на нул (%Ф.С/10℃): | ±0.02 | ||
| Рабочая температура. ряд (℃): | -20~+55 | ||
| Напряжение тока возбуждения (в): | 9~12 (ДК) | ||
| Перегрузка безопасности (%Ф.С) | 120% | ||
| Окончательная перегрузка (%Ф.С) | 150% | ||
| Степень защиты | ИП65 | ||
| Длина кабеля: | 1 измеряет -6 метров | ||
| Метод соединения провода | |||
| РЭД=Иньпут+ | БЛАКК=Иньпут- | ГРЭЭН=Оутпут+ | ВХИТЭ=Оутпут- |