Поднимаясь передающая линия подъема шнуруя емкость инструментов выстраивает в ряд от 1.1т - 11.25т
Быстрые детали:
Описание:
Самый лучший подъем рычага с верхним качеством и высокотехнологичный для профессиональных & промышленных потребителей
Спецификация:
| Модель | ТИХСХА-0.75 | ТИХСХА-1.5 | ТИХСХА-3 | ТИХСХА-6 | ТИХСХА-9 | |
| Вес Ратед поднимаясь | Т | 0,75 | 1,5 | 3 | 6 | 9 |
| Высота Ратед поднимаясь | М | 1,5 | 1,5 | 1,5 | 1,5 | 1,5 |
| Номинальная нагрузка | КН | 11 | 22,5 | 37,5 | 75 | 112,5 |
| Полно нагруженная тяга руки | Н | 140 | 240 | 320 | 340 | 360 |
| Поднимаясь цепной номер | 1 | 1 | 1 | 2 | 3 | |
| Поднимаясь цепной Дя. | мм | 6 | 8 | 10 | 10 | 10 |
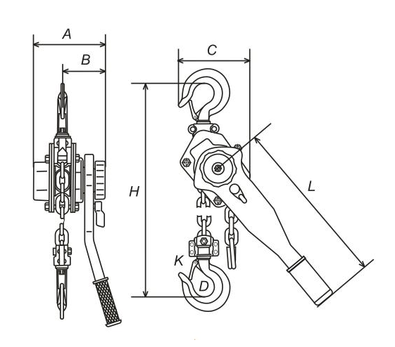
| Основной размер (мм) | А | 155 | 180 | 215 | 215 | 215 |
| Б | 95 | 105 | 130 | 130 | 130 | |
| К | 135 | 155 | 211 | 254 | 330 | |
| Д | 37 | 45 | 50 | 64 | 85 | |
| Х | 320 | 380 | 480 | 600 | 700 | |
| Л | 285 | 370 | 410 | 410 | 410 | |
| К | 26 | 45 | 50 | 64 | 85 | |
| Вес | Кг | 7,7 | 11,8 | 21 | 32 | 47 |
| Размер стоянки | см | 35.5*14*16.5 | 46.5*15.5*19 | 51*18*21.5 | 53*22*21.5 | 82*32*21.5 |
| Каждый вес роста метра поднимаясь | кг | 0,8 | 1,4 | 2,2 | 4,4 | 6,6 |
Эскиз:

Введение Мауфактурер
Наша компания имеет всю площадь 42800 квадратных метров, формируя 4 продукта серии:
Поднимаясь передающая линия подъема шнуруя емкость инструментов выстраивает в ряд от 1.1т к 11.25т