Блок главного собрания соединения термопары DANW для управления производственным процессом и испытательной системы
1. Описание:
Голова соединения термопары важный компонент в конструкции точной системы термопары. Голова использована для того чтобы расквартировать блок термопары терминальный который соединяет элемент термопары с проводом расширения.
Головы соединения термопары действуют, t
o защищает электрические соединения от загрязнения от элементов и поддерживает температуру постоянного окружая все внутренние соединения.
Головы соединений термопары доступны в разнообразие конфигурациях материалов и потока NPT отростчатых. Мы запасаем головы в алюминии, литом железе, нержавеющей стали, полипропилене, Delrin, нейлоне, латуни, и никель покрыл стальное.
2. Спецификации:
1. терминальный блок: 2P, 3P, 4P, 6P, 8P
2. материал терминального блока: бакелит или керамическое.
3. голова термопары DANW
4. тип: DANW, весь тип доступный
5. материал: Алюминий (ADC-12), нержавеющая сталь
6. вход провода: M20*1.5, NPT1/2 „, G1/2“ „
7. вход зонда: M24*1.5, G1/2 „, NPT1/2“ „, NPT3/4“ „
8. вход провода стандарта и вход зонда;
9. широкий диапазон спецификации;
10. картина высокой точности
11. аксессуар: запечатывание крышки и железа кабеля герметизируя в материале силикона свободном
12. Уровень защиты: IP65 класса предохранения от приложения IEC529
13. Место происхождения: Китай (материк)
14. дружественный к Эко: Да
15. MOQ: 50PCS
16. Сертификат: ISO,
17. Делать время образца: все печатают в запасе
. условие rade 18: ОБМАНЫВАЙТЕ, EXW, CIF, CFR
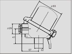
3. Технический чертеж

4. Применения:
1. Превосходное возникновение с точным финишем.
2. Собирать легко.
3. Доступный для Весн-нагруженных блоков.
4. Нормальный размер соответствующий для различных типов блоков, международного дизайна.
5. Смогите собрать с термопарой и RTD
5. Конкурентное преимущество:
| 1. место происхождения: Китай (материк) |
| 2. небольшое количество минимального заказа |
| 3. Все размеры доступные |
| 4. Сделайте голову с логотипом согласно вашему требованию |
| 5. влага и пыл-устойчивое |
| 6. картина высокой точности |
| 7. тип Mullti взрывозащищенный, хорошее взрывозащищенное представление |
| 8. Высокая механическая прочность и хорошее давлени-устойчивое представление |
| 9. некоторое изменение можно сделать согласно вашим дизайнам |