Шариковый клапан титана изготовлен используя материалы и процессы титана высокой отметки которые обеспечивают надежный и прочный продукт. Клапаны конструированы для того чтобы обеспечить главные регулирование потока, коррозионную устойчивость и стойкость. Они соответствующие для широкого диапазона применений включая нефть и газ, промышленного, и морских применений. Шариковые клапаны титана доступны в разнообразие размерах, конфигурациях, и материалах отвечать потребностямы любых применения или окружающей среды.
Шариковый клапан A182 316Ti титана, GR 2 титана, B367, B381
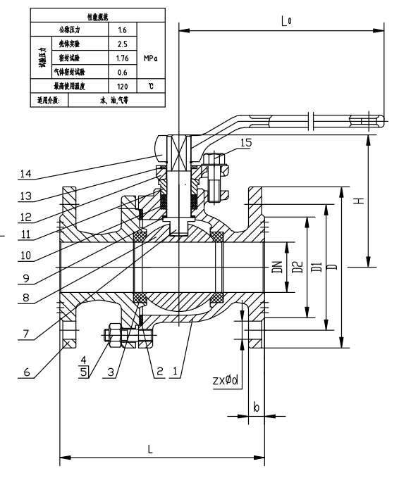
Шариковый клапан титана клапан стопа которое использует шарик для того чтобы остановить или начать подачу жидкости. Шарик (смоква 5) выполняет такую же функцию как диск в нормальном вентиле. Когда ручка клапана управляется для открытия клапана, шарик вращает к пункту где отверстие через шарик в линии с входом и выходом тела клапана. Когда клапан закрыт, который требует только вращения 90 градусов колеса руки для большинств клапанов, шарик вращан поэтому отверстие перпендикулярно к отверстиям подачи тела клапана, и подача остановлена.
| Шариковый клапан титана физических свойств | |||
| Ранг | Растяжимый MPA stength | Произведите MPA прочности | Удлиненность % |
| Gr1 | 240 | 170 | 24 |
| Gr2 | 345 | 275 | 20 |
| Gr4 | 550 | 483 | 15 |
| Gr5 | 895 | 828 | 10 |
| Gr7 | 400 | 275 | 18 |
| Gr9 | 620 | 483 | 15 |
| Gr12 | 483 | 348 | 18 |
| Gr23 | 793 | 759 | 10 |
| Химический состав шарикового клапана титана | |||||||||||
| Ранг | Fe Макс |
O Макс |
N Макс |
C Макс |
H Макс |
Pd Макс |
Al Макс |
Va Макс | Ni Макс | Mo Макс | |
| / | WT % | WT % | WT % | WT % | WT % | WT % | WT % | WT % | WT % | WT % | |
| Gr1 | 0,2 | 0,18 | 0,03 | 0,08 | 0,015 | ||||||
| Gr2 | 0,3 | 0,25 | 0,03 | 0,08 | 0,015 | ||||||
| Gr4 | 0,5 | 0,4 | 0,05 | 0,08 | 0,015 | ||||||
| Gr5 | 0,4 | 0,2 | 0,05 | 0,08 | 0,015 | 5.5-6.7 | 3.5-4.5 | ||||
| Gr7 | 0,3 | 0,25 | 0,03 | 0,08 | 0,015 | 0.12- 0,25 | |||||
| Gr9 | 0,25 | 0,15 | 0,03 | 0,08 | 0,015 | 2.5-3.5 | 2.0-3.0 | ||||
| Gr12 | 0,3 | 0,25 | 0,03 | 0,08 | 0,015 | 0.6-0.9 | 0.2-0.4 | ||||
| Gr23 | 0,25 | 0,03 | 0,03 | 0,08 | 0,0125 | 5.5-6.5 | 3.5-4.5 | ||||
| Ti | Баланс | ||||||||||

