Пожелтейте 10 углеродистое поверхностное сопротивление ома 1W 5% для PCB, постоянных сопротивлений фильма углерода
Быстрая деталь:
• Диапазон температур -55°C | +155°C
• допуск ±5%
• Высокомарочное представление на экономичных ценах
• Совместимый с автоматическим оборудованием ввода
• Пламя - тип retardant доступный
• Провод покрынный оловом обожженный медный
• Значения под 1Ω или над 10MΩ доступны специальным запросом, пожалуйста попросите детали
Описание:
Углеродистые поверхностные сопротивления фикчированный тип формы резистор. Они построены из керамической несущей с тонким чисто фильмом углерода вокруг его, того действуют как сопротивляющий материал.
Применения:
Смогите быть установлено в цепи силы:
• Электропитания и инверторы
• Бесперебойные электропитания
• Энергосберегающие светильники
• Электронные балласты
• Предохранение от нити различных типов светильников
• Некоторые типы подогревателей
• Для цепей более высокой силы спросите о MF73
и усмирители пульсации серии MF74.
Спецификации:
|
1. Дженерал
1,1 объем Эта спецификация доступна для постоянного сопротивления фильма углерода изготовленного мимо, оно согласовывает с испытанием RoHS отнесенного окружающей средой требования к вещества.
1,2 Типовое обозначение (пример)
Типовое обозначение находится в следующей форме и как определено. CF 1/я W 10K j T52
1,3 Расклассифицированная сила Расклассифицированная сила максимальная сила которую можно непрерывно нагружать на определенной температуре окружающей среды 70℃, как Table-1; однако когда температура окружающей среды превышает 70℃, расклассифицированная сила должна быть решительно от derating кривого Fig.1.
|
|||||||||||||||||||||||||||||||||||||||||||||||||||||||||||||||||||||||||||||||||||||||
|
Table-1
Диаграмма 1 сила derating кривый
1,4 Расклассифицированное напряжение тока
Расклассифицированное напряжение тока будет напряжением тока D.C. или A.C. (R.M.S на частоте силы) которое соответствует расклассифицированная сила и значение чего высчитывает от формулы ниже.
|
|||||||||||||||||||||||||||||||||||||||||||||||||||||||||||||||||||||||||||||||||||||||
|
E=√ (P×R) где e: Расклассифицированное напряжение тока (v) P: Расклассифицированная сила (w) R: Номинальное сопротивление (Ω) Температурная амплитуда рабочей температуры: - 55℃~+155℃
2. Конструкция
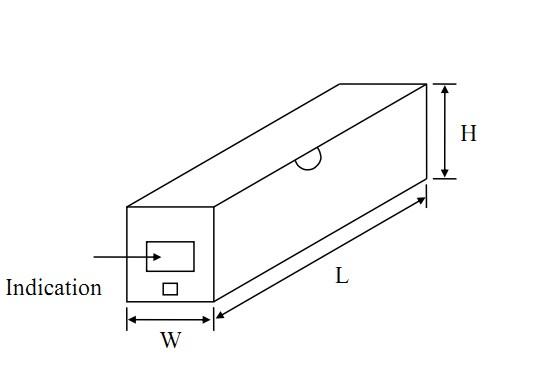
2,1 Внешние размеры
Размеры будут удовлетворяться с [5. внешних размера].
2,2 Диаграмма структуры
Конструкция резистора (серии CF) будет следующим образом:
|
|||||||||||||||||||||||||||||||||||||||||||||||||||||||||||||||||||||||||||||||||||||||
|
2,3 Терминальные крышки Крышки безопасно будут соединены с элементом резистора электрически и механически. 2,4 Цвет тела резистора Table-2
2,5 Индикация
Индикация будет удовлетворяться с [индикация 4.].
3. Характеристики Table-3
|
|||||||||||||||||||||||||||||||||||||||||||||||||||||||||||||||||||||||||||||||||||||||
|
|||||||||||||||||||||||||||||||||||||||||||||||||||||||||||||||||||||||||||||||||||||||
|
|
4. Индикация
Таблица расцветки

5. Внешние размеры
Тип p

|
Тип |
Размеры |
|||||
|
Нормальный размер |
Малый размер |
I±2.0 |
L±1.0 |
ψD |
ψd±0.05 |
H±2.0 |
|
CF1/8W |
CF1/4WS |
60 |
3,2 |
1.8±0.5 |
0,43 |
28 |
|
CF1/4W |
CF1/2WS |
60 |
6,5 |
2.3±0.5 |
0,45 |
28 |
|
CF1/2W |
CF1WS |
60 |
9,0 |
3.2±0.5 |
0,50 |
28 |
|
CF1W |
CF2WS |
60 |
11,5 |
4.5±1.0 |
0,68 |
25 |
|
73 |
11,5 |
4.5±1.0 |
0,68 |
31 |
||
|
CF2W |
CF3WS |
60 |
15,5 |
5.0±1.0 |
0,68 |
23 |
|
81 |
15,5 |
5.0±1.0 |
0,68 |
33 |
||
|
CF3W |
CF5WS |
94 |
17,5 |
6.0±1.0 |
0,68 |
38 |
|
CF5W |
94 |
24,5 |
8.0±1.0 |
0,68 |
35 |
|
5,2 Запись на ленту осевого руководства

|
Тип |
Связывать тесьмой |
Размеры |
||||||||||
|
Нормальный размер |
Малый размер |
L |
W |
P |
L1-L2 Макс. |
T |
Z Макс. |
R Макс. |
t Макс. |
e Макс. |
S Макс. |
|
|
CF1/8W |
CF1/4WS |
T26 |
3.2±0.5 |
26+1 -0 |
5±0.5 |
0,5 |
6±0.5 |
1,2 |
0 |
3,0 |
0,6 |
0,5 |
|
T52 |
3.2±0.5 |
52±1.0 |
5±0.5 |
1,0 |
6±0.5 |
1,2 |
0 |
3,0 |
0,6 |
0,5 |
||
|
CF1/4W |
CF1/2WS |
T26 |
6.5±0.5 |
26+1 -0 |
5±0.5 |
0,5 |
6±0.5 |
1,2 |
0 |
3,0 |
0,6 |
0,5 |
|
T52 |
6.5±0.5 |
52±1.0 |
5±0.5 |
1,0 |
6±0.5 |
1,2 |
0 |
3,0 |
0,6 |
0,5 |
||
|
CF1/2W |
CF1WS |
T52 |
9.0±1.0 |
52±1.0 |
5±0.5 |
1,0 |
6±0.5 |
1,2 |
0 |
3,0 |
0,6 |
0,5 |
|
CF1W |
CF2WS |
T52 |
11.5±1.0 |
52±1.0 |
5±0.5 |
1,0 |
6±0.5 |
1,2 |
0 |
3,0 |
0,6 |
0,5 |
|
T66 |
11.5±1.0 |
66±1.0 |
5±0.5 |
1,0 |
6±0.5 |
1,2 |
0 |
3,0 |
0,6 |
0,5 |
||
|
CF2W |
CF3WS |
T52 |
15.5±1.0 |
52±1.0 |
10±0.5 |
1,0 |
6±0.5 |
1,2 |
0 |
3,0 |
0,6 |
0,5 |
|
T73 |
15.5±1.0 |
73±1.0 |
10±0.5 |
1,0 |
6±0.5 |
1,2 |
0 |
3,0 |
0,6 |
0,5 |
||
|
CF3W |
CF5WS |
T84 |
17.5±1.5 |
84±1.0 |
10±0.5 |
1,0 |
6±0.5 |
1,2 |
0 |
3,0 |
0,6 |
0,5 |
|
CF5W |
T84 |
24.5±1.5 |
84±1.0 |
10±0.5 |
1,0 |
6±0.5 |
1,2 |
0 |
3,0 |
0,6 |
0,5 |
|
5,3 тип тип MB Type&MK &M
MB

|
Ватты |
Размеры (mm) |
||||||
|
D |
L |
P±1.0 |
H1±1.0 |
H2±0.5 |
t±0.15 |
qMax |
|
|
1/2w, 1ws |
3.2±0.5 |
9.0±1.0 |
12.5/15 |
10,5 |
4,5 |
1,2 |
3 |
|
1w, 2ws |
4.5±1.0 |
11.5±1.0 |
15 |
10,5 |
4,5 |
1,25 |
3 |
|
2w, 3ws |
5.0±1.0 |
15.5±1.0 |
20 |
10,5 |
4,5 |
1,25 |
3 |
|
3W5WS |
6.0±1.0 |
17.5±1.0 |
25 |
10,5 |
4,5 |
1,25 |
3 |
|
5W |
8.0±1.0 |
24.5±1.0 |
30 |
10,5 |
4,5 |
1,25 |
3 |
M

|
Ватты |
Размеры (mm) |
|||
|
ΦD |
L |
P±1.0 |
H±1.0 |
|
|
1/8w, 1/6w |
1.8±0.3 |
3.2±0.5 |
6 |
8 |
|
1/4w, 1/2ws |
2.3±0.5 |
6.5±0.5 |
10 |
8 |
|
1/2w, 1ws |
3.2±0.5 |
9.0±1.0 |
12.5/15 |
10 |
|
1w, 2ws |
4.5±1.0 |
11.5±1.0 |
15 |
10 |
|
2w, 3ws |
5.0±1.0 |
15.5±1.0 |
20 |
10 |
|
3w |
6.0±1.0 |
17.5±1.0 |
25 |
10 |
|
5w |
8.0±1.0 |
24.5±1.0 |
30 |
10 |
MK

|
Ватты |
Размеры (mm) |
||||
|
D |
L |
P±1.0 |
H±1.0 |
H1±1.0 |
|
|
1/2w, 1ws |
3.2±0.5 |
9.0±1.0 |
12,5 |
10 |
4,5 |
|
1w, 2ws |
4.5±1.0 |
11.5±1.0 |
15 |
10 |
4,5 |
|
2w, 3ws |
5.0±1.0 |
15.5±1.0 |
20 |
10 |
4,5 |
|
3W5WS |
6.0±1.0 |
17.5±1.0 |
25 |
10 |
4,5 |
5,4 F печатает тип на машинке &FK2Type&FKK

|
Ватты |
Размеры (mm) |
||||
|
ΦD |
L |
P±2.0 |
E Макс |
H±1.0 |
|
|
1/2w, 1ws |
3.2±0.5 |
9.0±1.0 |
6 |
3,5 |
5-8 |
|
1w, 2ws |
4.5±1.0 |
11.5±1.0 |
8 |
3,5 |
5-8 |
|
2w, 3ws |
5.0±1.0 |
15.5±1.0 |
8 |
3,5 |
5-8 |
|
3w |
6.0±1.0 |
17.5±1.0 |
8 |
3,5 |
5-8 |
|
Ватты |
Размеры (mm) |
||||
|
ΦD |
L |
P±2.0 |
E Макс |
H±1.0 |
|
|
1/2w, 1ws |
3.2±0.5 |
9.0±1.0 |
6 |
3,5 |
5-8 |
|
1w, 2ws |
4.5±1.0 |
11.5±1.0 |
8 |
3,5 |
5-8 |
|
2w, 3ws |
5.0±1.0 |
15.5±1.0 |
8 |
3,5 |
5-8 |
|
3w |
6.0±1.0 |
17.5±1.0 |
8 |
3,5 |
5-8 |
FKK

|
Ватты |
Размеры (mm) |
|||||
|
ΦD |
L |
P±1.0 |
E Макс |
H1±1.0 |
H2±1.0 |
|
|
1/2w, 1ws |
3.2±0.5 |
9.0±1.0 |
5-7 |
3,5 |
8 |
4,5 |
|
1w, 2ws |
4.5±1.0 |
11.5±1.0 |
5-9 |
3,5 |
8 |
4,5 |
|
2w, 3ws |
5.0±1.0 |
15.5±1.0 |
5-9 |
3,5 |
8 |
4,5 |
|
3w |
6.0±1.0 |
17.5±1.0 |
5-10 |
3,5 |
8 |
4,5 |
|
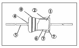
Пакет 5 5,1 Лента в упаковке коробки (упаковка боеприпасыа) 5.1.1 Индикация (1) номер детали клиента. (2) номер детали изготовления. (3) количество (4) изготовление
6.1.2 Размер и количество коробки упаковки
|
|||||||||||||||||||||||||||||||||||||||||||||||||||||||||||||||||||||||||||||||||
|
6,2 Лента в большом части коробки (большое часть боеприпасыа) 6.2.1 Индикация (5) номер детали клиента. (6) номер детали изготовления. (7) количество (8) изготовление
6.2.2 Размер и количество коробки упаковки
|
||||||||||||||||||||||||||||||||||||||||||||||||||||||||||||||||||||||||||||||||||||||||||||||||
Конкурентное преимущество:
1. Поставка фабрики сразу
2. Законченные сертификаты как UL, VDE, SGS, etc и высокомарочное доступное
3. Быстрая поставка
4. Самые лучшие послепродажные обслуживания
5. OEM & ODM доступные
