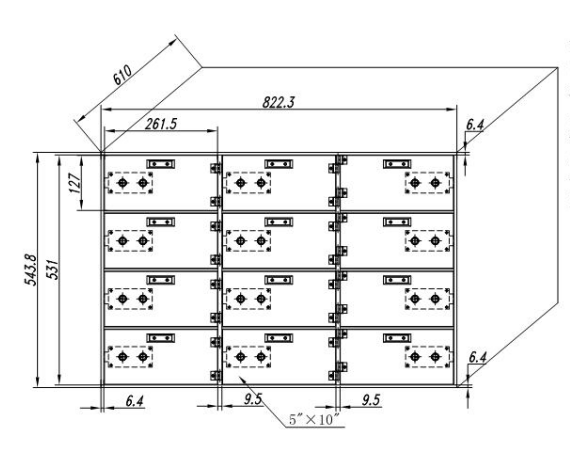
шкафчики сейфа банка нержавеющей стали 10mm безопасные с внешними шарниром и ящиком для хранения для частного свода
Технология Хунани Jinzheng, одно самого большого универсального изготовителя комнаты свода, дверь свода, сейф с 2001 и первое & только компания которая проходила класс m UL, аттестация 1,2,3 в материке Китая.
Мы сделали больший проект с Сиднеем и Мельбурном в Австралии, Москве на русском, Лондоне в Великобритании, Саудовской Аравии в Дубай, Берне в Швейцарии, Веллингтоне в Новой Зеландии, Джакарте в Индонезии, Малайзии, HK, Singapore.etc больше чем 50 стран и регионах, выигранной очень высокой репутации от их.
Сколько сейфов должен я положить в мою комнату свода?
Пожалуйста контактируйте с нами сразу с вашим планом комнаты, наша профессиональная команда НИОКР имеет разумный рисуя дизайн для вас соответственно.
Если вы хотите спрашивать цену сейфа, то добросердечно пожалуйста отправьте нами ваш ответ equirements detailr внизу вопросов:
Панель двери:
1, нержавеющая сталь SUS304 10mm;
2, покров из сплава 10mm алюминиевый (цвет можно выбрать)
3, нержавеющая сталь 9mm + золотая посуда sitanium 1mm
4, нержавеющая сталь 201 9mm + сталь SUS 3.4statinless 1mm
Коробка: Материал коробки, включая крышу, коробочный щиток, раздел и бортовая плита все сделан из высококачественной плиты холоднокатаной стали, в соответствии с GB/T912T и GB/T1220.
Почему выберите нас?
1, РАЙОН ФАБРИКИ в 10000 квадратный метров,
2, высокая предварительная машина импортированная от Германии и Япония,
3, перечисленный класс 1,2,3 UL 608.
4, с аттестациями ISO 9001 и ISO 14001.
| Материал | Нержавеющая сталь, стальная пластина с пластмасс-распыленной поверхностью | 
| Замки | Аттестованный UL набор замка | 
| Поднос попа-вне | Поднос для установки вещей когда клиенты проверят детали. | 
| Внутренняя коробка | Таможня | 
| Толщина | 10mm для двери, 2mm для стены тела коробки | 
| Поверхность | Кисловочный мыть, Phosphorized и электростатический порошок | 
| Обслуживание | ODM OEM/ | 
| Номер коробки | Гравирующ номера основанные на требованиях к клиентов | 
| Собирать | 5-10 минут, используя винты для того чтобы соединить блоки коробки | 
| Цвет Cottom | Таможня | 
| Упаковка | 5 сильной слоев коробки экспорта | 
| Выход | 1000 дверей/день | 
| Время выполнения | 25 до 30 рабочих дней | 










