Батарея шифрования высокого уровня безопасности AES256 модуляции передатчика COFDM полиции беспроводная видео- использующая энергию
Введение
LKAV-1508 передатчик manpack COFDM видео- специфически конструированный для применений видео- передачи наблюдения правительства видео-, правоохранительных органов полиции, пограничного контроля, внутренней безопасности и военного командования. Идеально для устанавливать изрезанные беспроводные видео- связи под всей ситуацией включая высокоскоростные чернь и городские среды. Оно использует низкое зашифрование высоко-профильного H.264 латентности для превосходного видео- качества над беспроводной связью, очень хорошо одет ко всем типам миссии.
Особенности
■Предварительные модуляция COFDM и зашифрование H.264
■Поддержка HDMI и входные сигналы CVBS видео-
■Ряд до 1-2km NLOS и 5-10km ЛОС
■низкая латентность системы 60-100ms
■Сильная противоинтерференционная способность
■Дизайн Manpack для легкой деятельности
■С длинной батареей выносливости
■Изрезанное снабжение жилищем алюминиевого сплава
Спецификация
| Характеристики передачи | |
| Модуляция | COFDM |
| Тип модуляции | QPSK (4QAM), 16QAM, 64QAM |
| Работая частота | 300MHz-2700MHz дискретное |
| Сила передачи | 33dBm (37dBm опционное) |
| Ширина полосы частот RF | 2-8MHz |
| FEC | 1/2, 2/3, 3/4, 7/8 |
| Интервал предохранителя | 1/4, 1/8, 1/16, 1/32 |
| Характеристики данных | |
| Видео- входной сигнал |
HDMI: 1080P/1080i/720P/720i… CVBS: 720* 576@PAL & 720* 480@NTSC |
| Сжатие видео | H.264 |
| Латентность системы | 60-100ms |
| Интерфейс RF | Голова x1 n f |
| Установка параметра | Пульт управления СИД |
| Шифрование | AES256 (определяемый пользователем пароль) |
| Электрические характеристики | |
| Напряжение тока деятельности | DC 12V |
| Работая течение | 1.5A |
| Расход энергии | ≤ 137dBm |
| Выносливость батареи | 3~5hours (12V/7800mAh) |
| Физические характеристики | |
| Работая Temp. | -20℃~70℃ |
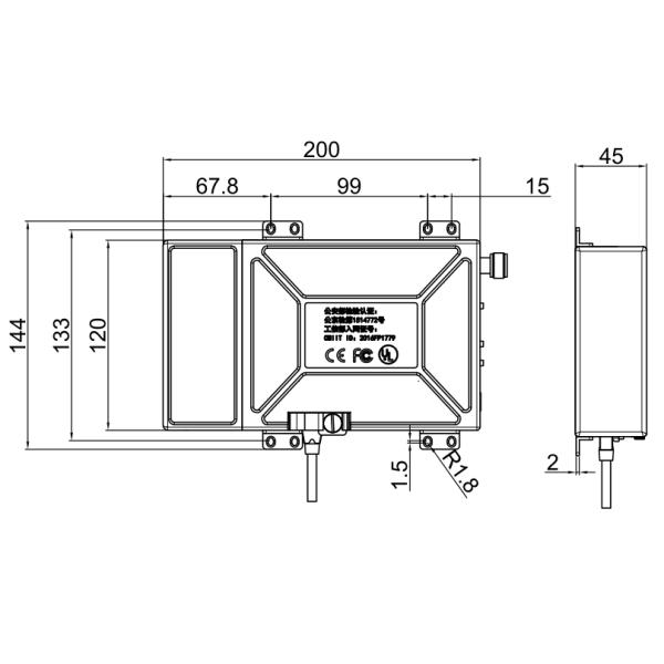
| Размеры | 150x120x45mm (без батареи); |
| 200x120x45mm (с батареей) | |
| Вес | 0.9kg (без батареи); |
| 1.58kg (с батареей) | |
Описание панели

①Интерфейс антенны – тип женщина n
②Пульт управления СИД
③Кнопка силы
④Входной сигнал CVBS видео-
⑤Аудио левый входной сигнал канала
⑥Аудио правый входной сигнал канала
⑦Входной сигнал HDMI видео-
⑧Потребляемая мощность – DC 12V
⑨Индикатор батареи
Размеры

Сценарий применения

Преимущества COFDM
Модуляция COFDM имеет очень сильное сопротивление амортизации, модуляция COFDM включает передачу от пользователя к множественности поднесущих, и сигнал можно держать очень много длинный чем сигнал держал в системе одно-несущей соответственно, поэтому COFDM имеет более сильное сопротивление для ударных помех и быстрого сопротивления амортизации канала. COFDM имеет более высокое использование частоты и позволяет перекрыть ортогональные волны поднесущих как подканалы, а не традиционная польза защитных полос частот отделяя подканалы, поэтому оно улучшает эффективность частоты, и увеличивает пользу ресурсов спектра.
Как для высокоскоростной передачи данных, COFDM имеет свой само-приспособительный механизм модуляции который позволяет поднесущие выбрать различные методы модуляции как QPSK, QAM, 16QAM или 64QAM согласно различным условиям и величинам фона канала. Если условия хороши, то приспособьте к модуляции высокой эффективности, если условия плохи, то приспособьтесь к противоинтерференционной модуляции. Так она может надежно приспособиться к высокоскоростной передаче данных.
Оно имеет сильную способность взаимодействия Интер-символа (ISI), ISI главное взаимодействие кроме шума в цифровых связях. COFDM путем использование циклического приставки имеет сильную способность ISI.
Простоту в использовании в комбинации с разнообразие другими методами, COFDM можно использовать как метод модуляции, кроме того, ее можно легко совместить с много видов технологии множественного доступа, обеспечивая доступ для несколько пользователей в то же время. Вы можете позволить несколько пользователей одновременно использовать информационную технологию COFDM для передачи.
Применения прибора COFDM
Модуляция COFDM разрешила трудные проблемы «Не-Лини--видимости» и «мобильной» беспроводной широкополосной передачи когда тариф над 2Mbps, поэтому он получал широкое применение в передаче мобильной телефонной связи, видео- и системах мониторинга как цифровой аудио передавая проект (ЛИМАНДА), широковещание ТВ высоко-определения (HDTV), здравоохранение, мобильная телефонная связь (CDMA + OFDM), беспроводной LAN (IEEE 802.1la), широкополосный беспроводной доступ (BWA), высококачественные видео в контроле в реальном времени (военном, широковещании, безопасности, морском обороне и другом индустрии).
Высокоскоростная мобильная беспроводная передача в реальном времени
Система может собрать аварийное видео в реальном времени сцены, голос, данные, etc. через общественную коммуникационную сеть или частную систему коммуникационной сети поставленную к каждому одобряя центру. Офицеры на всех уровнях команды могут понять ситуацию от компьютера сразу для того чтобы принять действенные меры в команде в реальном времени. Так она получает широкое применение к чрезвычайным обслуживани стихийных бедствий. Система может помочь сохранить много длительность процесса и уменьшить потери причиненные бедствиями

Морская беспроводная передача в реальном времени
Контроль в реальном времени морской беспроводной передачи хорош для прибрежной обороны, морского, гаван осмотра и других индустрий. Контроль в реальном времени морской зоны наблюдения можно манипулировать через весь процесс с видео в реальном времени, голосом, данными и контролем. Эта система может помочь сделать морское управление, контролируя с лучшей эффективностью.

Передавая видео- передача в реальном маштабе времени
Когда передача живая игры спорт, ясность видео может значительно быть улучшена передачей COFDM.

Общественная система мобильной телефонной связи
IEEE 802.1la уже наблюдал на диапазоне 5GHz и обеспечивает высокоскоростную передачу данных OFDM.

Как заключение, модуляция COFDM разрешила трудные проблемы «Не-линии видимости» и «мобильной» беспроводной широкополосной передачи когда скорость над 2Mbps, COFDM может захватить видео на высокой скорости и передать высококачественные видео в реальном времени, сделать потребителей приобрести исключительную свободу в новостях собирая, живите передавать, применения контроля в реальном времени.
вопросы и ответы
Q1: Вы изготовитель или торговая компания?
Мы профессиональный изготовитель специализируя в беспроводных системах передачи.
Q2: Почему должен я выбрать вас?
Вы получите конкурентоспособную цену, основное качество, удовлетворенное обслуживание и длинную гарантию.
Q3: Какое вроде обслуживание продукта могу я иметь?
Обслуживание OEM & ODM.
Q4: Чего вроде гарантия вы предлагает?
Мы предлагаем одн-год-гарантию и пожизненное обслуживание.
Q5: Что условия оплаты?
Мы признаваем банковский трансфер, PayPal, или платеж наличными.
Q6: Упаковка & грузить?
Нейтральные коричневые коробка & корабль через DHL, Federal Express, UPS, TNT или самолетом/море.
Q7: Как длинный для доставки?
1-3 недель для регулярной модели и 3-5 недель для подгонянной модели.
Q8: Могу я приказать 1 образец для теста?
Да, мы приветствуем заказ образца, смешанные образцы приемлемы.
Q9: Вы имеете предел MOQ?
Никакой предел, 1pc не приемлем.
Q10: Оно В ПОРЯДКЕ напечатать мой логотип на продукте?
Да, пожалуйста сообщите нас официально перед продукцией и подтвердите дизайн во первых
О LinkAV
Основанный в 2005, LinkAV предназначало для того чтобы конструировать и изготовить мобильные беспроводные системы видео/передачи данных включая COFDM, СЕТКУ IP и серии 4G-LTE, с группой в составе профессиональные инженеры для того чтобы обеспечить сделанное на заказ обслуживание (OEM). LinkAV служит разнообразный, высокий требовательный клиент от полиции/войск к обычным гражданам, от UAV к UGV/Robots, от месторождения нефти к лесу, от международного к континентальному Китаю.
LinkAV изготовитель Китая ведущий (OEM) новаторских беспроводных сообщений и информационных систем. Наши предварительные системы канала передачи данных идеальны для критических сообщений в тактических беспилотных системах как беспилотные земные корабли (UGVs), беспилотные воздушные корабли (трутни, UAVs) и беспилотные корабли поверхности (USVs), и конструированы с удобоносимостью и надежностью передовыми в разуме.
Наши преимущества
■Над 15 многолетними опытами в беспроводных решениях связи.
■Высокое качество продукции, конкурентоспособная цена и низкое MOQ
■Превосходная пре-продажа и команда после-продажи техническая.
■Быстрый ответ и быстрая доставка.
■Поддержанный OEM.
Youtube: https://www.youtube.com/channel/UCn0iKGgxQtkpi2qG4U0HsZg
Официальный вебсайт: http://www.LinkAVtech.com
LinkedIn: https://www.linkedin.com/company/linkav-technology/
Facebook: https://www.facebook.com/LinkAVtech/
