75-100мл машина для проверки пустых бутылок с новейшим алгоритмом ИИ
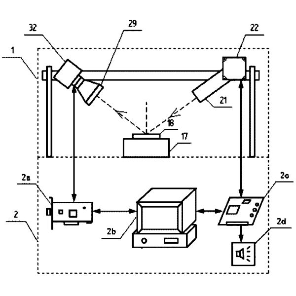
Принцип проверки
В зависимости от характеристик бутылки 75-100 мл количество камер, требования к испытаниям и показатели определяются следующим образом:
Обзор оборудования
| Модель |
Номер камеры |
Объем инспекции |
Содержание инспекции |
Точность обнаружения |
Точность |
Мощность |
|
KVIS-SC10
|
1 комплект |
Площадь губы бутылки |
Черные пятна, пятна, примеси ((разного цвета) |
≥ 0,2 мм | 99% | 120/мин |
| Вспышка, неполная инъекция | ≥1,0 мм | 99% | ||||
| 4 комплекта |
Верхняя площадь корпуса бутылки (включая внешнюю сторону локтя бутылки) |
Черные пятна, пятна, примеси ((разного цвета) |
≥ 0,2 мм | 99% | ||
| Пузырь | ≥1,0 мм | 99% | ||||
| 4 комплекта |
Нижняя площадь корпуса бутылки |
Черные пятна, пятна, примеси ((разного цвета) |
≥ 0,2 мм | 99% | ||
| Пузырь | ≥1,0 мм | 99% | ||||
| 1 комплект |
Вне основания бутылки |
Черные пятна, пятна, примеси ((разного цвета) |
≥ 0,2 мм | 99% | ||
| Сдвиг точки впрыска | ≥ 1,5 мм | 99% | ||||
|
Дверь ((через отверстия, без адгезии в отверстии) |
≥1,0 мм | 99% |

Профиль компании
KEYETECH всегда стремилась к применению искусственного интеллекта в области визуальных технологий,замена человеческих глаз и мозга на машинное зрение и вычисления разумного интеллекта, и интеграция обнаружения качества и сортировки в промышленные продукты в традиционном производстве, чтобы сделать производство более оцифрованным, интеллектуальным, визуализируемым и настойчивым.Также значительно улучшает эффективность и точность промышленного обнаружения, и повышает уровень интеллекта обрабатывающей промышленности.
** Наша компания обслуживала многие известные предприятия, такие как Coca-Cola, P&G, Unilever, ALPLA, C'estbon, Nongfu Spring и т. Д., И завоевала похвалу многих пользователей.

Послепродажное обслуживание
Компания имеет полную команду технического обслуживания и механизм быстрого реагирования, а также специалистов по обслуживанию для каждого клиента,кто может получать технические консультации и отчеты об ошибках от клиентов в любое время. и для обеспечения быстрого реагирования на чрезвычайные ситуации клиентов, чтобы гарантировать, что клиенты получают удовлетворительное обслуживание. Во время эпидемии или по особым причинам,когда инженеры послепродажного обслуживания не могут добраться до площадки, сервисный центр может удаленно настраивать оборудование клиента для устранения неполадок и технической консультации.
