Электрический тип клапан A76D управлением насоса
Описание:
A76D электрический тип модулирующая лампа насоса.
Когда насос раскроет, регулятор PLC передаст для того чтобы просигнализировать после этого открытый клапан соленоида который может помочь клапану полно открытому и уменьшить headloss, и игольчатые клапаны могут быть отрегулированы путем контролировать открытие и заключительную скорость.
Когда насос остановит, PLC передаст сигнал и раскроет клапан соленоида и закроет A76D медленно. После конца клапана, переключатель предела на клапане отправит сигнал в PLC завершить работу с насосом. Эта активная защита предотвратит молоток воды когда насос остановит.
. Когда отказ источника питания, A76D подействует как задерживающий клапан не-шлема. Он закроет быстро. Это minumize хлопать молотка воды и воды
Технические данные:
| Ряд размера | DN 50-800MM |
| Оценки давления | 1.0Mpa, 1.6Mpa, 2.5Mpa |
| Фланец | 1.0Mpa, 1.6Mp, Mpa 2,5 |
| Работая температура | -10°~80°C. |
| Средства массовой информации подачи | чистая вода |
DN50-DN350
Список частей:


| Нет. | Описание | Материал | Стандарт |
| 1 | Тело | Дуктильный утюг | GJS500-7 |
| 2 | Место | Нержавеющая сталь | AISI304 |
| 3 | Колцеобразное уплотнение | Резиновый | NBR |
| 4 | Стопорное устройство места | Нержавеющая сталь | AISI304 |
| 5 | Уплотнение | Резиновый | EPDM |
| 6 | Держатель Dics | Сталь углерода | CS/1045 |
| 7 | Стержень | Нержавеющая сталь | AISI304 |
| 8 | Колцеобразное уплотнение | Резиновый | NBR |
| 9 | Внутреннее тело | Дуктильный утюг | GJS500-7 |
| 10 | Буш | Бронзовый | C61900 |
| 11 | Диафрагма | Нейлон усилил резиновое | Ткань EPDM+Nylon |
| 12 | Фиксируя держатель | Дуктильный утюг | GJS500-7 |
| 13 | Bonnet | Дуктильный утюг | GJS500-7 |
| 14 | Гайка | Нержавеющая сталь | AISI304 |
| 15 | Винт | Нержавеющая сталь | AISI304 |
| 16 | Колцеобразное уплотнение | Резиновый | NBR |
| 17 | Колцеобразное уплотнение | Резиновый | NBR |
| 18 | Колцеобразное уплотнение | Резиновый | NBR |
| 19 | Весна | Нержавеющая сталь | AISI304 |
| 20 | Колцеобразное уплотнение | Резиновый | NBR |
| 21 | Гайка | Нержавеющая сталь | AISI304 |
| 22 | Штепсельная вилка | Нержавеющая сталь | AISI304 |
| 23 | Винт | Нержавеющая сталь | AISI304 |
| 24 | Гайка | Нержавеющая сталь | AISI304 |

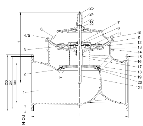
DN400-DN800
Список частей:

| Нет. | Описание | Материал | Стандарт |
| 1 | Тело | Дуктильный утюг | GJS500-7 |
| 2 | Место | Нержавеющая сталь | AISI304 |
| 3 | Винт | Нержавеющая сталь | A2 |
| 4 | Шайба | Нержавеющая сталь | A2 |
| 5 | Болт | Нержавеющая сталь | A2 |
| 6 | Bonnet | Дуктильный утюг | GJS500-7 |
| 7 | Гайка стержня | Бронзовый | C61900 |
| 8 | Шайба починки | Нержавеющая сталь | AISI304 |
| 9 | Починка Holder1 | Дуктильный утюг | GJS500-7 |
| 10 | Болт глаза | Сталь углерода | CS/1040 |
| 11 | Диафрагма | Нейлон усилил резиновое | Ткань EPDM+Nylon |
| 12 | Починка Holder2 | Дуктильный утюг | GJS500-7 |
| 13 | Внутреннее тело | Дуктильный утюг | GJS500-7 |
| 14 | Колцеобразное уплотнение | Резиновый | NBR |
| 15 | Колцеобразное уплотнение | Резиновый | NBR |
| 16 | Буш | Бронзовый | C61900 |
| 17 | Весна | Нержавеющая сталь | AISI304 |
| 18 | Держатель Dics | Дуктильный утюг | GJS500-7 |
| 19 | Уплотнение | Резиновый | NBR |
| 20 | Стопорное устройство уплотнения | Дуктильный утюг | GJS500-7 |
| 21 | Стержень | Нержавеющая сталь | AISI304 |
| 22 | Буш | Бронзовый | C61900 |
| 23 | Колцеобразное уплотнение | Резиновый | NBR |
| 24 | Крышка | Нержавеющая сталь | AISI304 |
| 25 | Штепсельная вилка | Нержавеющая сталь | AISI304 |
| 26 | Винт | Нержавеющая сталь | A2 |
| 27 | Колцеобразное уплотнение | Резиновый | NBR |
| 28 | Винт | Нержавеющая сталь | A2 |
| 29 | Гайка | Нержавеющая сталь | A2 |

Внешняя пронзительная диаграмма: