37.5Kva Наземная установка Тип однофазный 15kva столбиковый трансформатор
Структурные характеристики трансформатора с фазовым полюсом
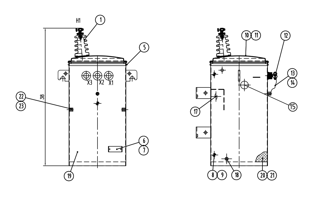
1На крышках резервуара имеются высоковольтные фарфоровые корпуса, которые поставляются с кольцевыми терминалами, которые могут вмещать либо алюминиевые, либо медные кабели.
2Круговая швейная структура крышки резервуара обеспечивает равномерное распределение напряжения и надежное уплотнение.
3Кольцевые болты на стенке резервуара служат низковольтным корпусом и терминалом и покрыты оловянным покрытием.
4Этот товар поставляется с клапаном для снятия давления, который способен самозапечатываться.
5Согласно стандартам ANSI, подвесные крюки трансформатора в верхней и нижней части соответствуют требованиям.
6Наземный терминал на баке - это наземный терминал с кольцевым болтом.

Основные данные
| Тип трансформатора | Трансформатор наземного распределения, обычный тип |
| Конфигурация трансформатора | Наполненный жидкостью столб |
| Фаза | Однофазная |
| Мощность | 37.5 кВА |
| Первичное напряжение | 4160GrdY/2400 |
| Вторичное напряжение | 277/480В (L-N-L) |
| Класс вторичного напряжения | 1Класс 2 кВ |
| Вторичный BIL | 30 кВ |
| Частота | 60 Гц |
| Повышение температуры | 65°С |
| Квалификация изоляции | Изоляция класса Е - 120°C, 248°F |
| Класс охлаждения | ОНАН; самоохлаждаемые |
| Материал намотки | Медь |
| Оценка температуры окружающей среды | 40°C |
| Диапазон температуры окружающей среды | -40°C до +40°C (-50°F до +104°F) |
| Уровень звука | 48 дБА |
| Размеры* | 24.8''-W x 26.77''-D x 40.16''-H |
| Соответствует/превышает рейтинги эффективности DOE 2016 года | |
| Эффективность | 98.80% |
Дизайн чертежей

Аксессуары

Спецификация
| 10kva-500kva Однофазный трансформатор, погруженный в масло | ||||||
| Номинальная капитализация ((kVA) | Высокий | Низкое напряжение (v) | Символ соединения | Стандартный | Импеданс короткого замыкания ((%) | Эффективность |
| Напряжение ((v) | (%) | |||||
| 10 | 4160 7200 12000 12470 13200 13800 19920 24940 34500 |
110 220 230 400 480 |
II0,II6 | IEEE/ANSI/DOE | 10,8 - 4% | 98.7 |
| 15 | 98.82 | |||||
| 25 | 98.95 | |||||
| 37.5 | 99.05 | |||||
| 50 | 99.11 | |||||
| 75 | 99.19 | |||||
| 100 | 99.25 | |||||
| 167 | 99.33 | |||||
| 250 | 99.39 | |||||
| 333 | 99.43 | |||||
| 500 | 99.49 | |||||
Особенность
1На крышках резервуара имеются высоковольтные фарфоровые корпуса, которые поставляются с кольцевыми терминалами, которые могут вмещать либо алюминиевые, либо медные кабели.
2Круговая швейная структура крышки резервуара обеспечивает равномерное распределение напряжения и надежное уплотнение.
3Кольцевые болты на стенке резервуара служат низковольтным корпусом и терминалом и покрыты оловянным покрытием.
4Этот товар поставляется с клапаном для снятия давления, который способен самозапечатываться.
5Согласно стандартам ANSI, подвесные крюки трансформатора в верхней и нижней части соответствуют требованиям.
6Наземный терминал на баке - это наземный терминал с кольцевым болтом.
Процесс производства



Частые вопросы
1Вопрос: Можно заказать образец?
О: Да, мы приветствуем заказ образца для проверки качества.
2Вопрос: Сколько времени?
О: Время массового производства 15-25 дней.
3. Q: Сколько времени гарантия?
Ответ: 24 месяца с момента B/L. Если есть какие-либо проблемы с аксессуарами, просто предоставьте фотографии поврежденного аксессуара, тогда мы предоставим бесплатный сервис.мы предоставим легко поврежденные аксессуары бесплатно. мы также можем предоставить техническую поддержку, если вам понадобится.
4Вопрос: Есть ли OEM/ODM?
A: Да, это так! Мы являемся производителем с нашей собственной командой исследований и разработок, мы можем настроить продукцию в соответствии с рисунком или требованиями клиента.
Услуги на заказ:
a. настраиваемый цвет и специальная функция.
b. Коробка на заказ.
в. Напечатать логотип клиента.
d. Ваши другие идеи о продукте, мы можем помочь вам разработать и ввести их в производство.
5Вопрос: Как контролировать качество продукции?
A: Наша компания владеет основной технологией, все виды продукции имеют сертификат CE. У нас есть профессиональные инженеры. Рабочие строго обязаны производить продукцию в соответствии с чертежами.Каждый процесс имеет технических инструкторовМы будем регулярно проверять производство, проводить тесты производительности продукции во время производства и всеобъемлющие тесты качества после завершения производства.