Соединители & запечатывание Microduct
Сразу установите – надутую Нажим-пригонку волокна
Прямые соединители с запирая зажимами
Описание
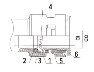
Детали соединителя общей нажим-пригонки прямого. В размерах для того чтобы соответствовать диаметрам microduct (m/d), штуцеры нажаты на опрятный конец m/d и делают уплотнение с внутренними колцеобразными уплотнениями. Если m/d вытягивано далеко от соединителя, внутренних зубов, и сплющенного тела для того чтобы причинить трубку быть сжатые плотными. Удаление m/d достигано путем отжимать collet внутрь.
Особенности
* предусматривает высоко-растяжимое, давлени-плотное соединение для microducts с идентичными наружными диаметрами
* низкопробное тело сделанное из удар-устойчивого материала (доказанного с тестом лопаты следовать тестом давления)
* прозрачное низкопробное тело для визуального контроля соединения
* зажимающ зубы сделанные из свободной от корози стали весны (испытанной согласно ‑ 24 EN 61386 или ‑ EN 61386 1)
* Пре-приспособленные запирая зажимы предотвратить случайную освобождать при установке
* соответствующий для сразу установите под - земля и дуновени-в баром до 15 давлений
* внутренний тест давления согласно DIN 16874 (170 MPa h/80 °C/4.0)
* смогите извлечься и повторно использоваться при необходимости
* для соответствующего для внутренней пользы, стили плам-retardant доступны согласно EN 61386-22 и свободным от галоид
Структура & материал

| Нет. | Деталь | Материал & описание | 
| 1 | Тело | Поликарбонат | 
| 2 | Уплотнение/колцеобразные уплотнения | Резина нитрила (NBR) | 
| 3 | Шайба | Polyacetal | 
| 4 | Когти внутренние зубы/кольцо/замок сжатия | Нержавеющая сталь | 
| 5 | Воротник | Polyacetal | 
| 6 | Collet | Polyacetal | 
| OD | Наружный диаметр | |
| ID | Внутренний диаметр | |
| DI | Сразу установите | |
| DB | Сразу хоронить | 
Примечания:
1. Пожалуйста подтвердите диаметр повреждает ли или царапины, сторону microduct наружный соединения быть чистый.
2. Пожалуйста подтвердите диаметр microduct наружный номинальные допуски встречают 土 0.1mm.
3. Пожалуйста убеждайтесь что конечная грань microduct соединения отрезана в прямоугольный самолет.
4. Пожалуйста подтвердите microduct быть через герметизируя кольцо, и нажмите к концу соединения до тех пор пока оно не сможет идти далеко снова.
5. После соединять microducts, проверить ли трубопровод может вытянуть, тогда положите в пользу.
6. Демонтируя microducts, пожалуйста убеждайтесь что давление 0.
Спецификации
| Дуя давление | Между температурами -10°C и +40°C, все перечисленные размеры соединителя можно использовать для дуть деятельность на давлениях до 16bar. Между +40°C и +65°C, дуя давления для 10mm и большая не должны превысить 10bar. | 
| Закрепленность газа | Утечка на давлении газа 8 баров: 1ml/minute приблизительно. Утечка на 0,7 давлениях газа бара: 0.01ml/minute приблизительно. | 
| Вход воды | Соединители приложат вплотную к голова 6m воды | 
| Сила ввода | 50N максимальное (5kg) | 
| Сила удерживания (collet, который не держат внутри) | минута 125N минуты 25N (3mm m/d) (8mm m/d) минута 125N минуты 55N (5mm m/d) (10mm m/d) | 
Данные по заказа
| Модель нет. | Описание | 
| DI-SCL-5/3.5-RT | Сразу установите, прямой соединитель с запирая зажимом, 5/3.5mm Microduct OD/ID, прямоугольный след ноги, тело прозрачной пластмассы | 
| DI-SCL-7/4-RT | Сразу установите, прямой соединитель с запирая зажимом, 7/4mm Microduct OD/ID, прямоугольный след ноги, тело прозрачной пластмассы | 
| DI-SCL-7/5.5-RT | Сразу установите, прямой соединитель с запирая зажимом, 7/5.5mm Microduct OD/ID, прямоугольный след ноги, тело прозрачной пластмассы | 
| DI-SCL-8/6-RT | Сразу установите, прямой соединитель с запирая зажимом, 8/6mm Microduct OD/ID, прямоугольный след ноги, тело прозрачной пластмассы | 
| DI-SCL-10/6-RT | Сразу установите, прямой соединитель с запирая зажимом, 10/6mm Microduct OD/ID, прямоугольный след ноги, тело прозрачной пластмассы | 
| DI-SCL-10/8-RT | Сразу установите, прямой соединитель с запирая зажимом, 10/8mm Microduct OD/ID, прямоугольный след ноги, тело прозрачной пластмассы | 
| DI-SCL-12/8-RT | Сразу установите, прямой соединитель с запирая зажимом, 12/8mm Microduct OD/ID, прямоугольный след ноги, тело прозрачной пластмассы | 
| DI-SCL-12/10-RT | Сразу установите, прямой соединитель с запирая зажимом, 12/10mm Microduct OD/ID, прямоугольный след ноги, тело прозрачной пластмассы | 
| DI-SCL-14/10-RT | Сразу установите, прямой соединитель с запирая зажимом, 14/10mm Microduct OD/ID, прямоугольный след ноги, тело прозрачной пластмассы | 
| DI-SCL-14/12-RT | Сразу установите, прямой соединитель с запирая зажимом, 14/12mm Microduct OD/ID, прямоугольный след ноги, тело прозрачной пластмассы | 
| DI-SCL-16/12-RT | Сразу установите, прямой соединитель с запирая зажимом, 16/12mm Microduct OD/ID, прямоугольный след ноги, тело прозрачной пластмассы | 

*Note: Другие цвета, стили FR или следы ноги косого угла доступны.