Зонд для измеряя температур поверхности
Стандарт:
ИЭК 60335-2-9, ИЭК 60335-2-14
Параметры:

Ключ
Прилипатель
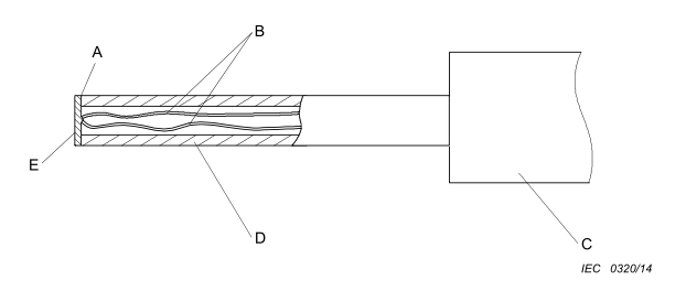
Термопара б связывает проволокой диаметр 0,3 мм к типу к ИЭК 60584-1 (алюмель хрома)
Расположение ручки к позволяющ силу контакта ± 1 н 4 н
Трубка поликарбоната д: внутренний диаметр 3 мм, внешний диаметр 5 мм
Диск е плоский залуживанный медный: диаметр 5 мм, 0,5 мм толстый
