90 сборка кабеля AWG 24 степени/AWG 26 Cat3 Cat5 IDC с соединителем IDC
кот AMP 229913-1 90 градусов соединитель Telco RJ21 pos 3/5 25 пар 50, кабель PBX Telco 25 пар с разъем-вилкой 2pcs 50Pin AMP
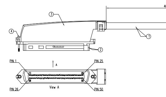
Тип 1: Сторона кабеля одного AWG 24 или 26 25 пар собрала с соединителем мужской штепсельной вилки штыря IDC 25 пар 50 с крышкой выхода кабеля 90 градусов пластиковой
1) Соединитель штепсельной вилки мужчины IDC штыря 25 пар 50 крышка 90 градусов пластиковая
2) Собранный AWG 24 или 25 пар кабель 26
3) одна сторона с соединителем одной бортовым раскрывает
4) Длина кабеля: зависите по запросу

Тип 2: Стороны кабеля 2 AWG 24 или 26 25 пар собранные с соединителем мужской штепсельной вилки штыря IDC 25 пар 50 с крышкой выхода кабеля 90 градусов пластиковой
1) Соединитель штепсельной вилки мужчины IDC штыря 25 пар 50 крышка 90 градусов пластиковая
2) Собранный AWG 24 или 25 пар кабель 26
3) Сторона 2 с соединителями
4) Длина кабеля: зависите по запросу

