Резонанс переменной частоты, испытательный набор напряжения, испытательный набор высокого напряжения для подстанции UHV или GIS
I. Применение:
This series of test system mainly aims at AC voltage withstand test of primary equipment of large capacitor and high voltage and can also satisfy field AC voltage withstand test of sorts of capacitance apparatusВ испытательных реакторах HV используются комбинированные параллельные модели, которые не только отвечают требованиям к напряжению трансформатора HV, GIS, SF6,взаимные индукции и тумбы, но также и длинные кабели XLPE., с совместимостью обширных испытаний, чтобы быть желаемым напряжением выдерживать испытательное устройство для капитального ремонта системы электроснабжения и электроэнергетики инженерных конструкций.
Выше изображение для переменной серии резонансной системы испытания 5000KVA/1000KV на испытательном поле в Шанси Джиндоннан подстанции, тестирование HV
ГИС UHV линий класса 1000KV в внутреннем секторе.
Применимые объекты
- длинные кабели XLPE класса 110KV,220KV,500KV
- HV GIS или GIL, HV конденсатор сцепления, конденсатор трансформатор напряжения класса не более 1000KV
- Сборка конденсатора ((испытание частотных обещаний в 45 65 Hz)
II. Основные компоненты: (например, 4000 КВА/1000 КВ испытательная система)
| СН | Наименование компонента | Тип и спецификация | Качество. | Каждый вес | Каждое измерение |
| 1 | Мощность переменной частоты | FKVF-200kW/380V | 1 шт. | 180 кг. | 750*700*1000 мм |
| 2 | Трансформатор возбуждения | CQSB ((J) 200 кВА | 1 шт. | 1800 кг | 650*650*800 мм |
| 3 | Реактор испытаний с резонансным сигналом ВВ | CHX ((kf) - 800 кВА/200 кВ | 5 штук | 2800 кг | D1200*H1250 мм |
| 4 | Разделитель емкости | TRF-1000 кВ/1000 пФ | 1 комплект | 550 кг. | D350*H7600 мм |
| 5 | Специальные испытательные принадлежности | 1 комплект |
Примечание:1.Капацитант нагрузки может быть опциональным, когда небольшая линия нагрузки тезируется или требует аналоговой нагрузки для управления частотой испытания.
2Испытательный реактор может быть изготовлен на 150KV, 200KV, 250KV, 300KV, 350KV, 400KV для каждого элемента номинального напряжения в соответствии с различным объемом испытываемого объекта или требованиями клиента.номинальный ток каждого реактора HV может быть 1 ~ 15A необязательно в этом сериальном наборе,
3Индуктивность глушения ВВ может быть необязательной для подавления высокочастотных гармоник и сопротивления перенапряжению, вызванному вспышкой испытываемого объекта, особенно в испытательных комплектах EHV или UHV.
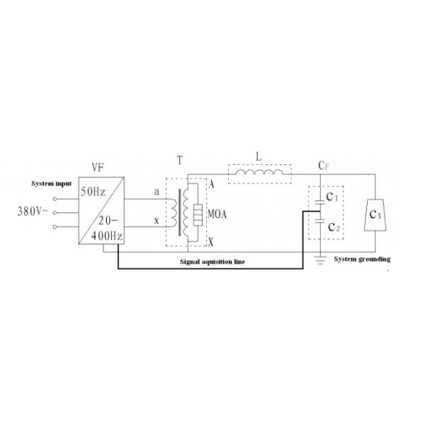
III. Принцип испытания:

VF: источник питания с переменной частотой T: трансформатор возбуждения
L: Испытательный реактор Cx: Испытуемое оборудование MOA1: Ограничитель молнии
C1,C2: разделитель напряжения ((C1 - высоковольтная рука,C2 - низковольтная рука))
Общие технические данные:
V. Технические характеристики и преимущества
VI. Основная панель программного обеспечения для измерений и управления:

VII.Приборы
VIII. Прочая типовая модель
1 Для ГИС класса 123KV ~ 300KV на месте испытания гипотензии переменного тока
| Модель | Номинальное напряжение | Номинальный выходный ток | Номинальная производительность |
Применение (Начиная с 45 Гц) |
| CHX-400KVA/200KV,400KV | 200 кВ*2 | 2A@200KV | 400 кВА | Для ГИС класса 123 КВ и ниже |
| 1A@400KV | Для ГИС класса 300 кВ и ниже | |||
| CHX-800KVA/200KV,400KV | 200 кВ*2 | 4A@200KV | 800 кВА | Для ГИС класса 123 КВ и ниже |
| 2A@400KV | Для ГИС класса 300 кВ и ниже | |||
| CHX-1000KVA/200KV,400KV | 200 кВ*2 | 5A@200KV | 1000 кВА | Для ГИС класса 123 КВ и ниже |
| 2.5A@400KV | Для ГИС класса 300 кВ и ниже | |||
| CHX-2000KVA/200KV,400KV | 200 кВ*2 | 10A@200KV | 2000 кВА | Для ГИС класса 123 КВ и ниже |
| 5A@400KV | Для ГИС класса 300 кВ и ниже | |||
| Специальные требования могут быть сделаны по заказу | ||||
2Для ГИС класса 145 ~ 362 КВ испытание гипотока переменного тока на месте
| Модель | Номинальное напряжение | Номинальный выходный ток | Номинальная производительность |
Применение (Начиная с 45 Гц) |
| CHX-500KVA/250KV,500KV | 250 кВ*2 | 2A@250KV | 500 кВА | Для ГИС класса 145 кВ и ниже |
| 1A@500KV | Для ГИС класса 362 кВ и ниже | |||
| CHX-1000KVA/250KV,500KV | 250 кВ*2 | 4A@250KV | 1000 кВА | Для ГИС класса 145 кВ и ниже |
| 2A@500KV | Для ГИС класса 362 кВ и ниже | |||
| CHX-2000KVA/250KV,500KV | 250 кВ*2 | 8A@250KV | 2000 кВА | Для ГИС класса 145 кВ и ниже |
| 4A@500KV | Для ГИС класса 362 кВ и ниже | |||
| CHX-3000KVA/250KV,500KV | 250 кВ*2 | 12A@250KV | 3000 кВА | Для ГИС класса 145 кВ и ниже |
| 6A@500KV | Для ГИС класса 362 кВ и ниже | |||
| Специальные требования могут быть сделаны по заказу | ||||
3 ДляИспытание гипотензии переменного тока на месте ГИС класса 170 ~ 550 КВ
| Модель | Номинальное напряжение | Номинальный выходный ток | Номинальная производительность |
Применение (Начиная с 45 Гц) |
| CHX-1200KVA/300KV,600KV | 300 кВ*2 | 4A@300KV | 1200 кВА | Для ГИС класса 170 кВ и ниже |
| 2A@600KV | Для ГИС класса 550 кВ и ниже | |||
| CHX-1800KVA/300KV,600KV | 300 кВ*2 | 6A@300KV | 1800 кВА | Для ГИС класса 170 кВ и ниже |
| 3A@600KV | Для ГИС класса 550 кВ и ниже | |||
| CHX-2400KVA/300KV,600KV | 300 кВ*2 | 8A@300KV | 2400 кВА | Для ГИС класса 170 кВ и ниже |
| 4A@600KV | Для ГИС класса 550 кВ и ниже | |||
| CHX-3600KVA/300KV,600KV | 300 кВ*2 | 12A@300KV | 3600 кВА | Для ГИС класса 170 кВ и ниже |
| 6A@600KV | Для ГИС класса 550 кВ и ниже | |||
| CHX-4800KVA/300KV,600KV | 300 кВ*2 | 16A@300KV | 4800 кВА | Для ГИС класса 170 кВ и ниже |
| 8A@600KV | Для ГИС класса 550 кВ и ниже | |||
| Специальные требования могут быть сделаны по заказу | ||||
4 ДляИспытание гипотензии переменного тока на месте ГИС класса 123 ~ 800 КВ
| Модель | Номинальное напряжение | Номинальный выходный ток | Номинальная производительность |
Применение (Начиная с 45 Гц) |
| CHX-2400KVA/200KV×4 | 800 кВ | 12A@200KV | 2400 кВА | Для ГИС класса 123 КВ и ниже |
| 6A@400KV | Для ГИС класса 300 кВ и ниже | |||
| 3A@600KV | Для ГИС класса 550 кВ и ниже | |||
| 3A@800KV | Для ГИС класса 800 кВ и ниже | |||
| CHX-3600KVA/200KV×4 | 800 кВ | 13A@200KV | 3600 кВА | Для ГИС класса 123 КВ и ниже |
| 9A@400KV | Для ГИС класса 300 кВ и ниже | |||
| 4.5A@600KV | Для ГИС класса 550 кВ и ниже | |||
| 4.5A@800KV | Для ГИС класса 800 кВ и ниже | |||
| CHX-4800KVA/200KV×4 | 800 кВ | 24A@200KV | 4800 кВА | Для ГИС класса 123 КВ и ниже |
| 12A@400KV | Для ГИС класса 300 кВ и ниже | |||
| 6A@600KV | Для ГИС класса 550 кВ и ниже | |||
| 6A@800KV | Для ГИС класса 800 кВ и ниже | |||
| Специальные требования могут быть сделаны по заказу | ||||
IX. Стандартная таблица испытаний изоляции на месте по IEC 62271-203:2011 для HV GIS
