Управляемая руководством запорная заслонка РФ нержавеющей стали отливки ОС&И для морской воды
Спецификации
Применимые стандарты:
- ЛИЦОМ К ЛИЦУ РАЗМЕР: ГБ/Т 12221
- РАЗМЕР ФЛАНЦА КОНЦА: ГБ/Т 9113
- ДЭСИНГ: АНСИ Б16.34
- ТЕСТ: АПИ598
Ряд размера:
- ДН15~ДН300
Оценка давления:
- ПН16~ПН40, АНСИ150~АНСИ300, ДЖИС10К~ДЖИС20К
Диапазон температур:
- -20°К~185°К
Соответствующее средство:
- Вода, масло, воздух и некоторая въедливая жидкость
Структура:
- Полный порт, скрепленный болтами Боннет, поднимая стержень
Применение
Ворот стальной запорной заслонки З41В, гибких/твердых клина, ПТФЭ или совмещенного материала упаковки, весны Беллевилле - нагруженная система упаковки плотно сжимая, место кованой стали, дизайн задних посадочных мест, интеграл выковала дизайн стержня, стержня опционной спецификации выдвинутого стержня, поднимая/Не-поднимая.
.

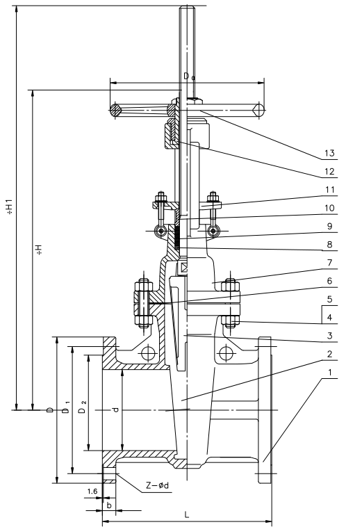
| ДН | Л | Д | Д1 | Д2 | б-ф | з-φд | Х |
| 50 | 250 | 160 | 125 | 100 | 16-3 | 4-18 | 350 |
| 65 | 265 | 180 | 145 | 120 | 18-3 | 4-18 | 370 |
| 80 | 280 | 195 | 160 | 135 | 20-3 | 8-18 | 390 |
| 100 | 300 | 215 | 180 | 155 | 20-3 | 8-18 | 435 |
| 125 | 325 | 245 | 210 | 185 | 22-3 | 8-18 | 520 |
Особенность
жидкое сопротивление 1.Тхэ небольшое, и поверхность для заклеивания более менее помыта и выветрена средством (высота отверстия шторки высока).
2. компактная текстура, хорошая ригидность клапана, ровный проход, небольшое акустическое омическое сопротивление, нержавеющая сталь и твердый сплав на поверхности для заклеивания, длинный срок службы, упаковка ПТФЭ, надежная деятельность запечатывания, светлых и гибких.
Модельный выбор
Запорная заслонка
| Стандартный | АНСИ | ГБ | ДЖИС | ДИН |
| Давление | 150ЛБ/300ЛБ | ПН16/ПН25/ПН40 | 10К/20К | ПН16/ПН40 |
| Клапан Матрайал | 1) КФ8/СС304 2) КФ8М/СС316 3) КФ3/СС304Л 4) КФ3М/СС316Л 5) ВКБ | |||
| Деятельность | Управляемое колесо руки, сработанная шестерня работало, электрическое | |||
