ASTM A351 MSS SP-114 CL150 90DEG Литой прокатн&yc
Локоть улицы нержавеющей стали ASTM A351 MSS SP-114 CL150 90DEG продетый нитку бросанием
Информация о продукте
| Название продукта | Локоть улицы нержавеющей стали ASTM A351 MSS SP-114 CL150 90DEG продетый нитку бросанием |
| Типы потока | ASME B1.20.1 (NPT), BS 21 (NSPT), DIN2999/259 |
| Размеры | ISO 49-1994 (E), MSS SP-114, ANSI B16.3 |
| Ряд размера | 1/8" до 4" |
| Класс давления | 150 |
| Материалы | ASTM A351 (CF8, CF8M), JIS (SCS13, SCS14), AISI (304/L, 316/L), ASTM A182/A276 (304/L, 316/L), |
ASTM A351 CF8 и CF8M
ASTM A351 CF8 и CF8M аустенитная нержавеющая сталь, показывают хорошие прочность и дуктильность. CF8/CF8M получают широкое применение в насосе и клапане, морском пехотинце, химической обработке, пищевых промышленностях, CF8 также быть приложенным в ядерном и оборонных отраслях.
Химический состав ASTM A351 CF8/CF8M (%)
| Ранг | C | Mn | Cr | Mo | Ni | Fe | Cu |
| CF8 | 0-0.08 | 0-1.5 | 18-21 | 0-0.5 | 9-11 | Bal | 0.00-0.00 |
| CF8M | 0-0.08 | 0-1.5 | 18-21 | 2-3 | 9-12 | Bal | 0.00-0.00 |
Свойства ASTM A351 CF8/CF8M механические
| Ранг |
Прочность на растяжение (ksi) |
Прочность выхода (ksi) |
Удлиненность (%) |
Твердость (Brinell) |
| CF8 | 0.00-70 | 30 | 35 | 134-196 |
| CF8M | 0.00-70 | 30 | 30 | 146-212 |
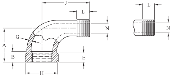
Размеры MSS SP-114 бросания 90 DEG продели нитку локти улицы (дюймы)

| NPS | Центр-к-конец | Длина внутреннего потока (b) (MIN.) | Ширина диапазона (MIN.) | Толщина металла (a) | Вне диаметра диапазона (MIN.) | Центр-к-конец | Длина внешнего потока (MIN.) | Гаван Dia. Мужской конец (максимальный) |
| B | E | G | H | J | L | N | ||
| ⅛ | 0,81 | 0,25 | 0,20 | 0,09 | 0,75 | 1,06 | 0,26 | 0,20 |
| ¼ | 0,81 | 0,32 | 0,20 | 0,09 | 0,84 | 1,18 | 0,40 | 0,26 |
| ⅜ | 0,93 | 0,36 | 0,21 | 0,10 | 1,01 | 1,43 | 0,41 | 0,37 |
| ½ | 1,12 | 0,43 | 0,25 | 0,10 | 1,20 | 1,62 | 0,53 | 0,51 |
| ¾ | 1,31 | 0,50 | 0,27 | 0,12 | 1,46 | 1,87 | 0,55 | 0,69 |
| 1 | 1,50 | 0,58 | 0,30 | 0,13 | 1,77 | 2,12 | 0,68 | 0,91 |
| 1 ¼ | 1,75 | 0,67 | 0,34 | 0,14 | 2,15 | 2,50 | 0,71 | 1,19 |
| 1 ½ | 1,93 | 0,70 | 0,37 | 0,15 | 2,43 | 2,75 | 0,72 | 1,39 |
| 2 | 2,25 | 0,75 | 0,42 | 0,17 | 2,97 | 3,25 | 0,76 | 1,79 |
| ½ 2 | 2,68 | 0,92 | 0,48 | 0,21 | 3,31 | 3,87 | 1,14 | 2,20 |
| 3 | 3,06 | 0,98 | 0,55 | 0,23 | 4,00 | 4,50 | 1,20 | 2,78 |
| 4 | 3,81 | 1,08 | 0,66 | 0,26 | 5,06 | 5,68 | 1,30 | 3,70 |
ASTM A351 MSS SP-114 CL150 90DEG Литой прокатн&yc