Высокоскоростные моторы шпинделя, мотора Dc высокого числа оборотов легковес мотора безщеточного микро- безщеточный
Мотор сам ядр безщеточного мотора DC, который не только связывает с индексом, шумом и вибрацией, надежностью и сроком службы представления, но также включает производительные расходы и цену продукта. Путем принятие постоянного магнитного поля, безщеточный мотор DC может получить освобожданным традиционных дизайна и структуры общего мотора DC, который может соотвествовать различных рынков применения, и превращается к направлению сохраняя меди и материалов, и делать его легким. Развитие поля постоянного магнита близко связано с применением материалов постоянного магнита. Применение третьего поколения материалов постоянного магнита повышает безщеточный мотор DC до направления высокой эффективности, миниатюризации и энергосберегающего.
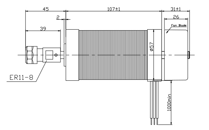
1.Dimension мотора Dc высокого числа оборотов безщеточного:

2. Спецификация Genaral безщеточного мотора DC 500W
| Деталь | Спецификация |
| Обматывая тип | Звезда |
| Угол эффекта Холла | угол 120 градусов электрический |
| Вал бежит вне | 0.025mm |
| Радиальная игра | 0.02mm@450g |
| Осевой люфт | 0.08mm@450g |
| Сила Max.radial | форма 75N @20mm фланец |
| Сила Max.axial | 15N |
| Класс изоляции | Класс b |
| Диэлектрическая прочность | 500VDC на одна минута |
| Сопротивление изоляции | 100MΩ MIN., 500VDC |
3. Электрическая спецификация безщеточного мотора Dc
| Модель | ||||||
| Спецификация | Блок | HJ57BLS005 | HJ57BLS01 | HJ57BLS02 | HJ57BLS03 | HJ57BLS04 |
| Номер участка | Участок | 3 | ||||
| Количество поляков | Поляки | 4 | ||||
| Расклассифицированное напряжение тока | VDC | 36 | ||||
| Проектная скорость | Rpm | 4000 | ||||
| Расклассифицированный вращающий момент | N.m | 0,055 | 0,11 | 0,22 | 0,33 | 0,44 |
| Расклассифицированное течение | Amps | 1,2 | 2 | 3,6 | 5,3 | 6,8 |
| Расклассифицированная сила | W | 23 | 46 | 92 | 138 | 184 |
| Пиковый вращающий момент | N.m | 0,16 | 0,33 | 0,66 | 1 | 1,32 |
| Пиковое течение | Amps | 3,5 | 6,8 | 11,5 | 15,5 | 20,5 |
| Задняя часть E.M.F | V/Krpm | 7,8 | 7,7 | 7,4 | 7,3 | 7,1 |
| Константа вращающего момента | N.m/A | 0,074 | 0,073 | 0,07 | 0,07 | 0,068 |
| Инерция ротора | g.c㎡ | 30 | 75 | 119 | 173 | 230 |
| Длина тела | mm | 37 | 47 | 67 | 87 | 107 |
| Вес | Kg | 0,33 | 0,44 | 0,75 | 1 | 1,25 |
| Датчик | Хониуэлл | |||||
| Класс изоляции | B | |||||
| Степень защиты | IP30 | |||||
| Температура хранения | -25~+70℃ | |||||
| Рабочая температура | -15~+50℃ | |||||
| Работая влажность | RH 85% или вниз 85% (не конденсировать) | |||||
| Рабочая Среда | на открытом воздухе (отсутствие сразу солнечного света), безгремучертутный газ, Не-огнеопасный газ, отсутствие тумана масла, отсутствие пыли |
|||||
| Высота | 1000m или вниз 1000m | |||||

4.Applications гибридного мотора шага:
Мы видели что моторы BLDC предлагают высокую эффективность и управляемость, и что они имеют длинный срок службы. Они широко использованы в приборах которые бегут непрерывно. Они длиной были использованы в стиральных машинах, кондиционерах, и другой бытовой электронике; и более недавно, они появляются в вентиляторы, где их высокая эффективность вносила вклад в значительное уменьшение в расходе энергии.
Они также используются для того чтобы управлять машинами вакуума. В одном случае, изменение в программе управления привело в большой скачке во вращательном примере скорости- превосходной управляемости предложенной этими моторами.
Моторы BLDC также используются для того чтобы закрутить трудные дисководы, где их стойкость держит приводы работать dependably в долгосрочной перспективе, пока их энергетический коэффициент полезного действия вносит вклад в уменьшение энергии в области где это будет все больше и больше важным.
введение 5.Company:
Основанный в 2009, CO. моторов Changzhou Hejie, Ltd. профессиональные изготовитель и экспортер который относятся
с дизайном, развитием и продукцией и продажами моторов. Мы расположены в провинция Changzhou, Цзянсу, с удобным доступом транспорта. Наша компания всегда совершена к дизайну и изготовлять моторов на сверх 10 лет, и теперь имеет несколько патентов вымысла и общего назначения модельных патенты. Наша компания главным образом принимается за научные исследования и разработки различных моторов, включая мотор серии шагая, мотор DC серии безщеточный, мотор сервопривода AC/DC. Весь из наших продуктов значительно оценены в разнообразие
различные рынки повсеместно в страна, и даже экспорт до больше чем 10 зарубежные страны и регионов.
Наши продукты проходили аттестацию CE и ROHS, и компания проходила аттестацию системы управления качеством итога ISO9001. Продукты получают широкое применение к высекаенной машине, машине вышивки, промышленным роботам, роботам, беспилотному воздушному кораблю (uav), механическим инструментам CNC, цифровому печатанию, машине компьютера плоской вязать, печатанию 3 d, машинному оборудованию упаковки, промышленным принтерам, медицинскому оборудованию, новым кораблям энергии и другим управлению автоматизации и оборудованию системы автоматизации.

сертификат квалификации 6.Related:

7.FAQ:
Q: Где ваша фабрика?
: Наша фабрика расположена в Changzhou только один час от Шанхая высокоскоростной железной дорогой.
Q: Как выбрать соответствующий stepper мотор?
: Несколько важных аспектов размер и длина stepper мотора держа напряжение тока настоящий etc. угла шага вращающего момента после для того чтобы подтвердить некоторые из их после этого сказала нам мы может помочь вам выбрать соответствующий stepper мотор или вы можете отправили нами модель вы использующ мы можете помочь вам найти соответствующий stepper мотор.
Q: Когда могу я получить чертежи stepper мотора?
: Мы обеспечим чертежи stepper мотора после того как вы сделаете заказ заказ.
Q: Сколько времени гарантия время?
: 12 месяцы и нас обеспечиваем бессрочное техническое обслуживание и обслуживания после продажи.
Q: Как можем мы знать качество продукции?
: Мы предлагаем что вы для того чтобы приказать образец также вы может отправить нами электронную почту для фото детали для проверки если вы не можете получить достаточную информацию в странице продукта.