Трение стальной нагрузки шарикоподшипника тяги паза клетки глубокой высокой низкое
Описание 6205З
1. З: Противопыльный кожух металла на одной стороне подшипника
2. ЗЗ (или 2З): противопыльный кожух металла с обеих сторон подшипника
3. Примечание: Когда модель подшипника отмечена на противопыльном кожухе, 6205З может также иметь противопыльные кожухи металла на обеих сторонах.
Это может быть ради удобства или экономии на затратах.
2 противопыльного кожуха не произведены отдельно потому что такой же изготовитель имеет такую же модель.
Противопыльный кожух всеобщий, настолько иногда модель на наружном пакете будет более точен.
6205-2РСК3
1. К3 уровень зазора подшипника.
2. Радял и зазор в осевом направлении группы в составе К3 подшипники больше чем эта из обычной группы.
3. Исправлять один ферруле подшипника и после этого трясти другой ферруле будут чувствовать более свободными.
4. Соответствующее для высокоскоростных моторов. Структура, подшипники обычной группы произведет жару и произведет шум при использовании на высоких скоростях, но не группы К3.
5. Вообще, их можно заменить на ординарность одни. Если вы хотите учить больше, то пожалуйста посетите мой вебсайт для того чтобы выучить.
Глубокие шарикоподшипники паза и цилиндрические общее и разницы в подшипников ролика (отсутствие обочины)
1. Глубокий шарикоподшипник паза: Он главным образом носит радиальную нагрузку и может также принести некоторое количество аксиальной нагрузки.
2. Величина наибольшей допускаемой нагрузки на опору низка, скорость предела высока, позволяемое отклонение по углу большое, и цена низка.
3. Цилиндрические подшипники ролика (без нервюр)
4. Смогите только поддержать радиальные нагрузки, не аксиальные нагрузки, высокую емкость нагрузки, скорость минимального размера, небольшое позволяемое отклонение по углу, сепарабольные внутренние и наружные кольца, и более высокие цен
Трение стальной нагрузки шарикоподшипника тяги паза клетки глубокой высокой низкое
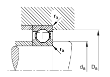
|
д |
25мм |
|
Д |
52мм |
|
Б |
15мм |
|
Д1 |
43.6мм |
|
Да максимальный |
46.4мм |
|
д1 |
33.5мм |
|
минута да |
30.6мм |
|
Ра максимальный |
1 мм |
|
минута р |
1 мм |
|
м |
0.129кг |
|
Кр |
14900 н |
|
К0р |
7800 н |
|
нГ |
17000 1/мин |
|
Н.Б. |
14500 1/мин |
|
Дворняжка |
510 н |



Шоу продуктов


Другой подшипник мы предлагаем
| Подшипник муфты тележки | Опорные подшипники скольжения подушки | Глубокие шарикоподшипники паза |
| Линейные шарикоподшипники | Подшипники ролика иглы | Подшипники шарового шарнира |
| Цилиндрические подшипники ролика | Шарикоподшипники тяги | Подшипники ролика тяги |
| Подшипники ролика транспортера | Сферически подшипники ролика | Угловые шарикоподшипники контакта |

Наша упаковка

Наша фабрика

Если вам, то приветствуйте свяжитесь мы для списка цен на товары.