Вода CB 3145 смазывает верхний подшипник штурвала
Описание
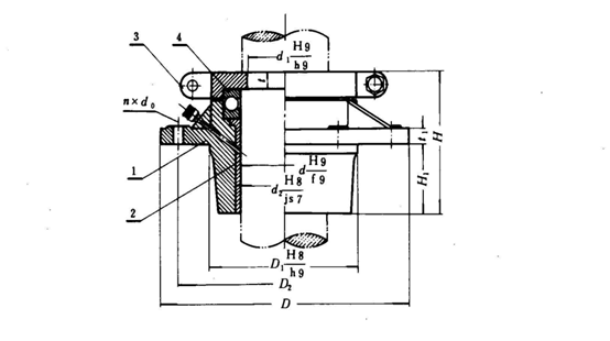
Вода CB 3145 смазать верхний подшипник штурвала прибор зафиксированный к корпусу для того чтобы поддержать штурвал. Верхний подшипник штурвала подшипник используемый для того чтобы поддержать запас штурвала в приборе штурвала корабля, который может обеспечить что запас штурвала не падает в воду, также помочь запасу штурвала для того чтобы повернуть и сыграть роли смазки. Верхний подшипник штурвала устроенный на голове штурвала для того чтобы выдержать вес штурвала и радиальных и осевых сил он подвергается к.
Главные технические данные
Основные технические параметры:
| Dia запаса штурвала. | d1 | d2 | D1 | D2 | D | H1 | H | t1 | t | Носить GB301-64 | Зажимные болты n x d0 | Вес (kg) | |
| 40 | 34 | 52 | 80 | 120 | 146 | 34 | 80 | 12 | 14 | 8208 | 6 | M10 | 2,6 | 
| 50 | 44 | 62 | 92 | 134 | 160 | 43 | 92 | 14 | 14 | 8210 | 6 | M10 | 4,8 | 
| 60 | 52 | 72 | 110 | 158 | 188 | 45 | 106 | l4 | 16 | 8212 | 6 | Ml2 | 6,1 | 
| 70 | 62 | 86 | 122 | 170 | 206 | 51 | 114 | 16 | 16 | 8214 | 6 | M12 | 9,1 | 
| 80 | 70 | 96 | 135 | 199 | 235 | 65 | 124 | 18 | 16 | 8216 | 6 | M12 | 13,2 | 
| 90 | 80 | 106 | 154 | 220 | 260 | 68 | 145 | 18 | 20 | 8218 | 6 | M16 | 21 | 
| 100 | 88 | 120 | 174 | 250 | 298 | 70 | 158 | 20 | 20 | 8220 | 6 | Ml6 | 26,4 | 
| 110 | 98 | 130 | 188 | 272 | 320 | 80 | 168 | 20 | 20 | 8222 | 6 | M16 | 32,3 | 
| 120 | 106 | 140 | 202 | 294 | 342 | 90 | 183 | 22 | 24 | 8224 | 6 | Ml6 | 40,4 | 
| 140 | 126 | 160 | 230 | 322 | 382 | 110 | 210 | 24 | 24 | 8228 | 6 | M20 | 55,8 | 
| 160 | 144 | 184 | 258 | 354 | 424 | 120 | 239 | 26 | 28 | 8232 | 6 | M20 | 66,2 | 
| 180 | 164 | 204 | 286 | 386 | 456 | 130 | 264 | 28 | 28 | 8236 | 6 | M20 | 98 | 
| 200 | 180 | 228 | 318 | 422 | 490 | 140 | 294 | 30 | 32 | 8240 | 6 | M24 | 125,4 | 
| 220 | 200 | 248 | 338 | 446 | 516 | 155 | 315 | 30 | 32 | 8244 | 6 | M24 | 154 | 

Чертеж воды CB 3145 смазывает верхний штурвал нося морское гидравлическое управление рулем
