Подшипник штурвала соединения штурвала стали отливки
Описание
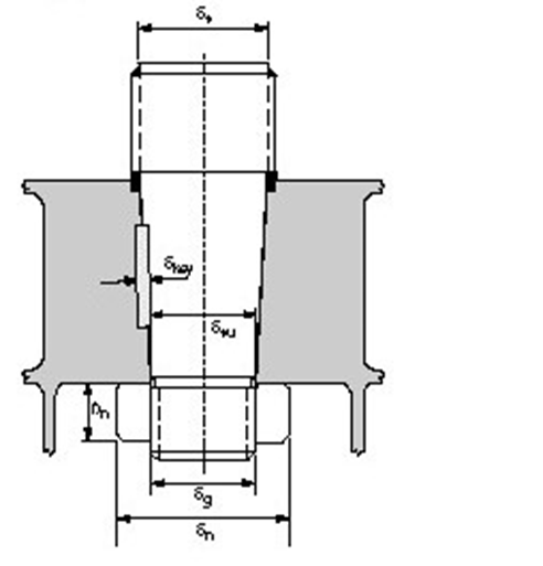
Носить штурвала соединения штурвала стали отливки часть лезвия штурвала и рожка штурвала. Запас штурвала и штырь штурвала к приспособленный на его. Любой ключ соединенный или штуцер прессы с запасом и штырем штурвала.
Главные технические данные

Чертеж подшипника штурвала соединения штурвала бросая стали