Лестница веревочки Embarkation деревянного шага ISO 5489-2008 морская
Описание:
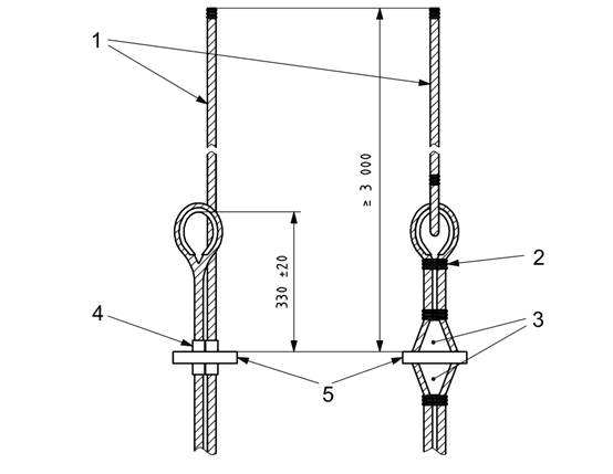
Обеспечены, что включает лестница embarkation корабля безопасный embarkation перевозимого по воде ремесла выживания вдоль вертикальной части корпуса корабля. Она применима к торговым суднам необходимо, что снесла лестницы embarkation под главу III международной конвенции 1974 для безопасности жизни на море (SOLAS), как откорректировано. Принуждают, что принимает национальная администрация безопасности на море лестницы исполняя с этим международным стандартом на их кораблях, как исполнять полно с требованиями SOLAS. Он также использован для экипажа для того чтобы начать ставя на якорь. Легковес, питает, использованный широко для различного корабля. Дизайн & стандарт изготовления самый последний: ISO 5489.
Главные технические данные:
1. Технический стандарт: Регулировка ISO 5489-2008 SOLAS как откорректировано;
2. Тип: Алюминиевые шаги & деревянные шаги;
3. Номер шагов: 10-60, подгонял;
4. Длина: 3100 до 18500mm, подгоняли;
5. Материал: Алюминиевый сплав, твердая древесина, веревочка Манилы Mildew устойчивая, синтетическая веревочка;
6. Сертификаты классификации: Тип - утверждение, тип MED EC - утверждение, CCS, NK, BV, ABS, DNV, LR, KR, IRS, RS, Etc.




Рисовать оборудовать морского пехотинца лестницы веревочки Embarkation деревянного шага ISO 5489-2008 морской

