Предпосылка продукта
Сравненный с урожаями как рис и пшеница, мозоль имеет сильный допуск засухи, неурожайный допуск, и хорошую экологическую приспособляемостьь. Питательная ценность мозоли высока. С улучшением жизненных уровней людей, преследование качества в потреблении и обработке мозоли было выше. Визуальный контроль дефектов мозоли был важным методом для того чтобы улучшить качество.
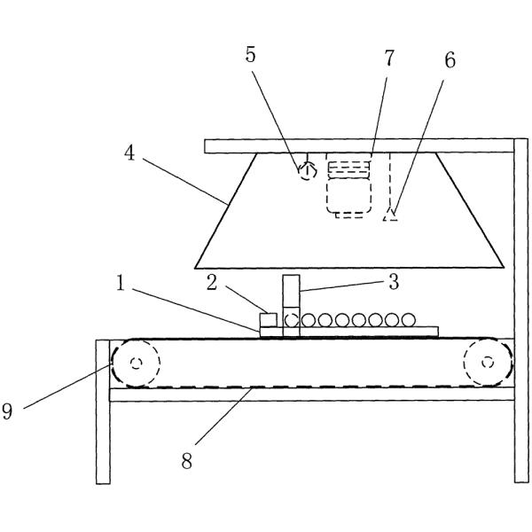
Качество само мозоли важная гарантия для значения мозоли. Детектор мозоли онлайн качественный произведенный нашей компанией принимает совершенно новую технологию AI, которая может обнаружить государство мозоли с высокой эффективностью и высокой точностью. Испытаны пятна заболеванием, насеком-съеденные зерна, сломленные зерна, почва, примеси (пески, кирпичи, семена засорителя, etc.), и статистически отчеты сформированное онлайн.

Принцип осмотра
Решение осуществляет сегментацию изображения семени мульти-мозоли согласно функциям программного обеспечения системы зрения, выполняет предварительно обрабатывая деятельность, и волочит функции программного обеспечения как заплата маринуя, считать заплаты и другая функция для того чтобы осуществить обнаружение глаза ошибки мозоли, обнаружение угорь мозоли, обнаружение mildew мозоли, и повреждение мозоли. Обнаружение, etc., делают влияние обнаружения повышения данным по изображения более точным, и различают квалифицированное качество мозоли от характеристик формы мозоли, цвета, текстуры и другой информации.

Параметры прибора
| сила | <200 W="" 220=""> |
| ряд напряжения тока | Однофазный переменный ток 200~240V, 50HZ |
| Температура окружающей среды | -10℃~+45℃ (отсутствие замороженности) |
| Влажность окружающей среды | Под 85% (никакая конденсация) |
Детали обнаружения
1. Автоматическое binarization: Используйте глубокую нервную систему для того чтобы поделить на сегменты передний план и предпосылку изображения. Сравненный с традиционным методом binarization, его можно приложить к разнообразие освещая условиям, и сегментация края мозоли более ровные, быстрые и крепкие высокие преимущества.
2. Слипчивый алгоритм сегментации мозоли: Метод основанный на соединенных доменах не может поделить на сегменты придерживаемую мозоль. Глубокая нервная система использована для того чтобы поделить на сегменты придерживаемую мозоль на уровне примера, который может достигнуть скорость 1000fps и может обрабатывать придерживаемую мозоль в реальное временя.
3. Алгоритм опознавания атрибута мозоли: принимает облегченную нервную систему и интегрирует, который полу-наблюдали уча метод. Модель может итеративно быть оптимизирована только путем отмечать небольшое количество данных. Она имеет преимущества высокой точности, быстрой скорости, и удобного раскрытия.

обслуживание После-продажи
Компания имеет полную команду технического обслуживания и быстрый механизм реагирования, и имеет специалистов по специализированного обслуживания для каждого клиента, который может получить технические отчеты о консультации и недостатка от клиентов в любое время. И обеспечить быстрый ответ к аварийным ситуациям клиента, для обеспечения что клиенты получают удовлетворительное обслуживание. Во время эпидемического или должный к особенным причинам, когда инженеры после-продаж неспособны достигнуть место, пункт обслуживания может удаленно отрегулировать оборудование клиента для диагностики и технической консультации.

После того как оборудование приезжает на местоположение клиента, инженер после-продаж приезжает во время унести установку оборудования, поручать, и тренировку деятельности. Качество продукции всей машины traceable, и качественный период гарантии 1 год от даты принятия. В случае не-человеческих недостатков во время периода гарантии, инженеры после-продаж быстро приедут на место или обеспечат удаленное обслуживание наведения бесплатно.