ATTINY24A-SSU 8-битный MCU 20MHz 12 I/O 1,8V до 5,5V SOIC-14
Особенности
• Высокопроизводительный, маломощный 8-разрядный микроконтроллер AVR®
• Расширенная архитектура RISC
120 мощных инструкций, выполняющих один цикл часов
32 x 8 Рабочие реестры общего назначения
Полностью статическая работа
• Неплавные сегменты памяти с высокой выносливостью
2K / 4K / 8K байты встроенной, самопрограммируемой памяти Flash-программ
•Продолжительность: 10 000 циклов записи/удаления
128/256/512 Байты программируемой EEPROM в системе
•Продолжительность: 100 000 циклов записи/удаления
¥128/256/512 Байты внутренней SRAM
Хранение данных: 20 лет при 85°C / 100 лет при 25°C
Замок программирования для самопрограммирования Flash и EEPROM
• Периферийные особенности
Один 8-битовый и один 16-битовый таймер/счетчик с двумя PWM-каналами каждый
10 битовый ADC
•8 Однокончательные каналы
•12 дифференциальных пар каналов ADC с программируемой увеличением (1x / 20x)
Програмируемый таймер с отдельным осциллятором на чипе
Аналоговый сравнитель на чипе
Универсальный серийный интерфейс
• Особые характеристики микроконтроллера
Система отладки на чипе
Внутренние и внешние источники прерывания
•Переключение на 12 штифтов
Режим бездействия с низкой мощностью, режим снижения шума ADC, режим ожидания и режим отключения питания
Улучшенная схема перезагрузки питания Программируемая схема обнаружения с программным обеспечением
¢Внутренний калиброванный осциллятор¢Встроенный датчик температуры
• Ввод/вывод и пакеты Доступно в 20-конечных WQFN/VQFN, 14-конечных SOIC, 14-конечных PDIP и 15-конечных UFBGA
12 программируемых линий ввода/вывода
•Эксплуатационное напряжение:
¥1.8 ¥5.5В
• Степень скорости:
4 МГц @ 1,8 V 5.5 V 0
10 МГц @ 2.7
¥ 5.5V ¥ 0 ¥ 20 МГц @ 4.5 ¥ 5.5V
• Промышленный температурный диапазон: от -40 до +85°C
• Низкое энергопотребление
Активный режим:
•210 μA при 1,8 В и 1 МГц
Режим бездействия:
•33 μA при 1,8 В и 1 МГц
- Режим отключения:
•0,1 мкА при 1,8 В и 25°С
Конфигурации пин

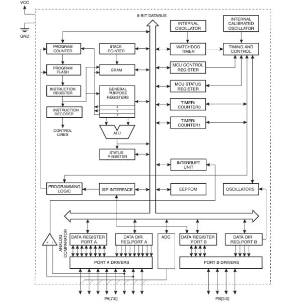
Диаграмма блоков

Ядро AVR сочетает в себе богатый набор инструкций с 32 регистрами общего назначения.позволяющий получить доступ к двум независимым регистрам в одной инструкции, выполняемой в одном часовом циклеПолученная архитектура более эффективна в коде, достигая пропускной способности в десять раз быстрее, чем обычные микроконтроллеры CISC.
Спецификации
| Атрибут продукта | Значение атрибута |
|---|---|
| 2 кБ | |
| 128 Б | |
| SOIC-14 | |
| 20 МГц | |
| 10 бит | |
| 12 В/В | |
| 1.8 В | |
| 5.5 В | |
| 8 бит | |
| - 40 градусов. | |
| + 85 C | |
| Трубка | |
| Тип оперативной памяти данных: | SRAM |
| Размер данных ROM: | 128 Б |
| Тип данных ROM: | EEPROM |
| Высота: | 10,75 мм |
| Тип интерфейса: | SPI, USI |
| Длина: | 8.74 мм |
| Чувствительны к влаге: | - Да, конечно. |
| Количество каналов ADC: | 20 канал |
| Количество таймеров/счетчиков: | 2 таймера |
| Серия процессоров: | крошечный AVR |
Торговые руководства
| Морская перевозка | Срок доставки | Для запасных частей заказы будут отправлены через 3 дня. После отгрузки, расчетный срок доставки зависит от выбранных ниже перевозчиков: DHL Express, 3-7 рабочих дней. DHL eCommerce, 12-22 рабочих дня. Международный приоритет FedEx, 3-7 рабочих дней ЭМС, 10-15 рабочих дней. Зарегистрированная авиапочта, 15-30 рабочих дней. |
| Стоимость доставки | После подтверждения заказа, мы будем оценивать стоимость доставки на основе веса товаров | |
| Вариант доставки | Мы предоставляем международную доставку DHL, FedEx, EMS, SF Express и зарегистрированной воздушной почтой. | |
| Отслеживание перевозки | Мы уведомим вас по электронной почте с номером отслеживания, как только заказ будет отправлен. | |
|
Возвращение гарантия |
Возвращение | Возврат товаров обычно принимается в течение 30 дней с даты отправки.Детали должны быть неиспользованными и в оригинальной упаковке.Заказчик должен оплатить доставку. |
| Гарантия | Все покупки Retechip поставляются с 30-дневной политикой возврата денег. Эта гарантия не распространяется на любой товар, дефекты которого были вызваны неправильной сборкой клиента,несоблюдение клиентом инструкций, модификация продукта, небрежность или неправильная эксплуатация | |
| Заказ |
Оплата
|
T/T, PayPal, Кредитная карта включает Visa, Master, American Express. |