UL1434 CQC TUV аттестовало термистор компенсации влияния температуры NTC MF12 MF11 для измерительных оборудований
Связь загрузки спецификации PDF: MF11 компенсация влияния температуры NTC Thermistor.pdf
Генерал
Термистор компенсации влияния температуры NTC. Серия MF11 термисторов NTC конструирована для измерения температуры и компенсации влияния температуры аппаратур и радиотехнических схем измерения.

Характеристики
Применение
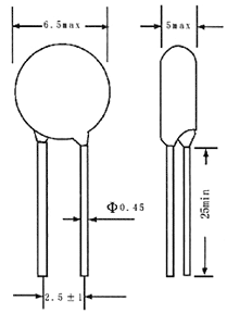
Размер (блок: mm)

Спецификация
| Номер детали | Значение b (25/50ƒC) | Расклассифицированное сопротивление нул-силы на 25ƒC | ||
| Нормированная величина (k) | Позволяемый допуск (%) | Ряд сопротивления (Ω) | Позволяемый допуск (%) | |
| MF11 |
2600 4400 4500 4600 4750 |
+/--10 |
5-7 80000-144000 145000-199000 200000-299000 300000-500000 |
+/- 5 +/--15 |
Примечание: Мы можем произвести термисторы согласно вашим особенным требованиям.
Кривая расхода энергии

Механические требования
| Деталь | Требования | Метод теста |
| 1.Solder-ability | Терминалы равномерно будут залуживаны, и свое area≥95% | Окунающ терминалы theNTC к глубине 15mm в паяя ванне 245±5℃ и к месту 6mm далеко от тела NTC для 3±0.5s (см. животики IEC68-2-20 /GB2423.28) |
| 2.Resistance к паяя жаре |
Отсутствие видимого механического повреждения. ΔR/RN ≤20% (=∣RN-RN'∣ ΔR) |
Окунающ терминалы NTC к глубине 15mm в паяя ванне 260±5℃ и к месту для 6mm ниже от тела NTC для 3±0.5s.After recovering4-5h под 25±2℃. Будет измерено расклассифицированное значение RN сопротивления силы нуля. (См. Tb IEC68-2-20 /GB2423.28) |
| 3.Strength терминала руководства |
Отсутствие перерыва вне ΔR/RN ≤20% (=∣RN-RN'∣ ΔR) |
Не будет прикреплять тело и придать силу постепенно к каждому руководству до 10N и после этого сдержать для 10sec, тела владением и придать силу к каждому руководству до 90°slowly на 5N в направлении оси руководства и после этого сдержать для 10sec, и будет делать это в противоположном повторении направления для другого терминала. После брать 4~5h под 25±2℃, будет измерено расклассифицированное значение RN сопротивления силы нуля. (См. IEC68-2-21/GB2423.29 Ua/Ub) |
Тест надежности
| Деталь | Требования | Метод теста |
| 1.Temp. Задействуя испытание |
Отсутствие видимого механического повреждения. ΔRN/RN ≤20% (=∣RN-RN'∣ ΔR) |
Животики: - Tb 40±3℃/30min→25±2℃/5min→: циклы 160±3℃/30min→25±2℃/5min: 5times После брать 4~5 h под 25±2℃, будет измерено расклассифицированное значение RN сопротивления силы нуля. |
| задействуя испытание 2.Electrical |
Окружающий temp. Ряд: 25℃±2℃. Циклы: 2,000times включено-выключено: s 5 s/55 Течение теста: 7A После брать 4~5h под 25±2℃, будет измерено расклассифицированное значение RN сопротивления силы нуля. |
|
| (выносливость) испытывать 3.LoadLife |
Окружающий temp. Ряд: 25℃±2℃; 7A/1,000±24h После брать 4~5 h под 25±2℃, будет измерено расклассифицированное значение RN сопротивления силы нуля. |
|
| 4. Испытывать влажности |
Отсутствие видимого механического повреждения. ΔRN/RN ≤20% (=∣RN-RN'∣ ΔR) |
Окружающий temp. ряд: 40℃±2℃ R.H.: 93±3%, подпитанный время: 1000±24 h После брать 4~5 h под 25±2℃, будет измерено расклассифицированное значение RN сопротивления силы нуля. |