Кабель DIN 81860-1999 немецкий стандартный Watertight цепной обхватывает корабль Releaser анкера причаливая оборудование
Описание:
DIN 81860 может обеспечить вам легкий и безопасный путь отрезать анкер когда корабли смотря на неожиданную опасность. Материалы releaser анкера DIN 81860 бросая сталь или нержавеющая сталь. Кроме того, он произведен путем много процессов как бросая ковать и сваривать. Поверхность немецких стандартных releasers анкера должна быть отполирована и гальванизирована без всех дефектов. Для больше информации, вы можете чувствовать, что свободно связались мы.
Главные технические данные:
1. Технический стандарт: DIN 81860-1999; Немецкий стандарт
2. Номинальный цепной диаметр: 36mm до 152mm
3. Применимый ранг 2 и анкерные цепи ранга 3;
4. Watertight функциональный тест
5. Материалы: C-Mn сталь, нержавеющая сталь,
6. Превосходная гибкость;
7. Поверхностное покрытие: sandblasting к S2.5 + один слой праймера магазина эпоксидной смолы, гальванизированное, подгонянное поверхностное покрытие доступное.
8. Сертификаты классификации: CCS, NK, BV, ABS, DNV-GL, LR, KR, IRS, RS, Etc.
9. Смогите быть подгоняно
Основной технический параметр:
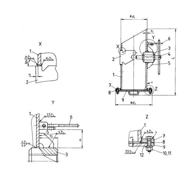
| Цепные диаметры | Фd1 x s1 | Ф d2 | l1 | U1 | v1 | v2 | a1 | a2 |
| 36 38 40 42 44 46 | 273 x 12,5 | 375 | 735 | 75 | 10 | 75 | 6 | 3 |
| 48 50 52 54 56 | 323,9 x 14,2 | 440 | 835 | 95 | 12 | 90 | 4 | |
| 58 60 62 64 66 68 | 406,4 x 16 | 540 | 995 | 110 | 14 | 95 | 8 | 5 |
| 70 73 76 78 81 | 508 x 17,5 | 645 | 1245 | 105 | 15 | 100 | 10 | 6 |
| 84 87 90 92 | 130 | 150 | ||||||
| 95 97 100 102 105 | 610 X20 | 754 | 1430 | 18 | 8 | |||
| 107 111 114 | 170 | 185 | ||||||
| 117 120 122 124 127 | 711 x 22,2 | 856 | 1615 | 20 | 12 | |||
| 130 132 137 | 813 x 22,2 | 958 | 1790 | |||||
| 142 147 152 | X 25 914 | 1060 | 1970 | 190 | 22 | 200 | 14 | 10 |


Чертеж кабеля DIN 81860-1999 немецкого стандартного Watertight цепного обхватывает корабль Releaser анкера причаливая оборудование

