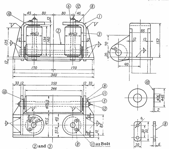
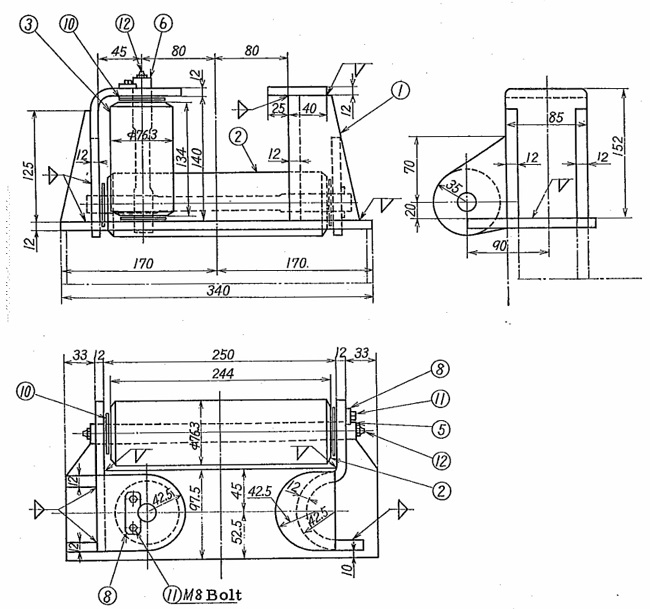
Ролики ролика 3 конца 2 палубы стальной пластины размера JIS F-2020 небольшие грузят причаливать оборудование
Описание:
Концевой ролик палубы расположен на за борт бортовой палубе для зачаливания корабля. Оно произведен согласно японскому стандарту. Важный прибор для зачаливания корабля. Это всеобщий fairlead который помогает привести веревочки от направлений. Ровная поверхность защищает веревочку.
Главные технические данные:
1. Модельный тип: Тип a, тип B1, тип B2
2. Материалы: C-Mn сталь, слабая сталь, нержавеющая сталь
3. Стандарт: JIS F 2020-1979
4. Ролик нет: 2 ролика (тип a), 3 ролика (тип B1, тип B2)
5. Номинальный размер: 76mm~426mm
6. Поверхностное покрытие: sandblasting к S2.5 + один слой праймера магазина эпоксидной смолы, отполированное, гальванизированное, подгонянное поверхностное покрытие доступное.
7. Сертификаты классификации: CCS, NK, BV, ABS, DNV-GL, LR, KR, IRS, RS, RINA
Основной технический параметр:
| Тип | B | C | D | E | E1 | F | G | H | |
| 76 | 134 | 80 | 98 | 76 | 134 | 244 | 140 | 90 | 152 |
| 101 | 177 | 106 | 129 | 101 | 177 | 323 | 185 | 119 | 201 |
| 135 | 236 | 141 | 172 | 13 | 236 | 431 | 247 | 159 | 268 |
| 168 | 296 | 176 | 215 | 168 | 296 | 538 | 309 | 199 | 335 |
| 426 | 596 | 370 | 491 | 426 | 596 | 1160 | 314 | 660 | 722 |


Тип a

Тип b
Чертеж роликов ролика 3 конца 2 палубы стальной пластины размера JIS F-2020 небольших грузит причаливать оборудование

